插接结构标志

管道插接结构
图片尺寸1462x785
一种pe给水管插接式连接结构
图片尺寸1046x1031
哈飞赛豹插接件图形及标志.pdf 16页
图片尺寸2232x3033
一种母排插接连接器
图片尺寸1390x1084
应用于职高教育的插接式电线固定结构
图片尺寸1904x645
摘要附图摘要本发明公开了一种插接式接线端子,包括一体式结构并设有
图片尺寸977x661
插头与插座连接图标
图片尺寸260x260
黑色和蓝色的插头连接图标集
图片尺寸800x800
一种新型组合结构的快插接头
图片尺寸638x799
论文写作中容易被忽视的标点符号:连接号
图片尺寸642x500
阻挡器,插接器,插接组件,预制件,插接结构和淋浴房
图片尺寸1938x1267
连接插头贴纸元素
图片尺寸800x800
一种拼插式玩具的插接结构
图片尺寸2032x1321
医疗器械的插接装置
图片尺寸2545x1594
绝缘连电插座
图片尺寸640x640
dunu 达音科 自锁式 可换插头 lightning type
图片尺寸790x1499
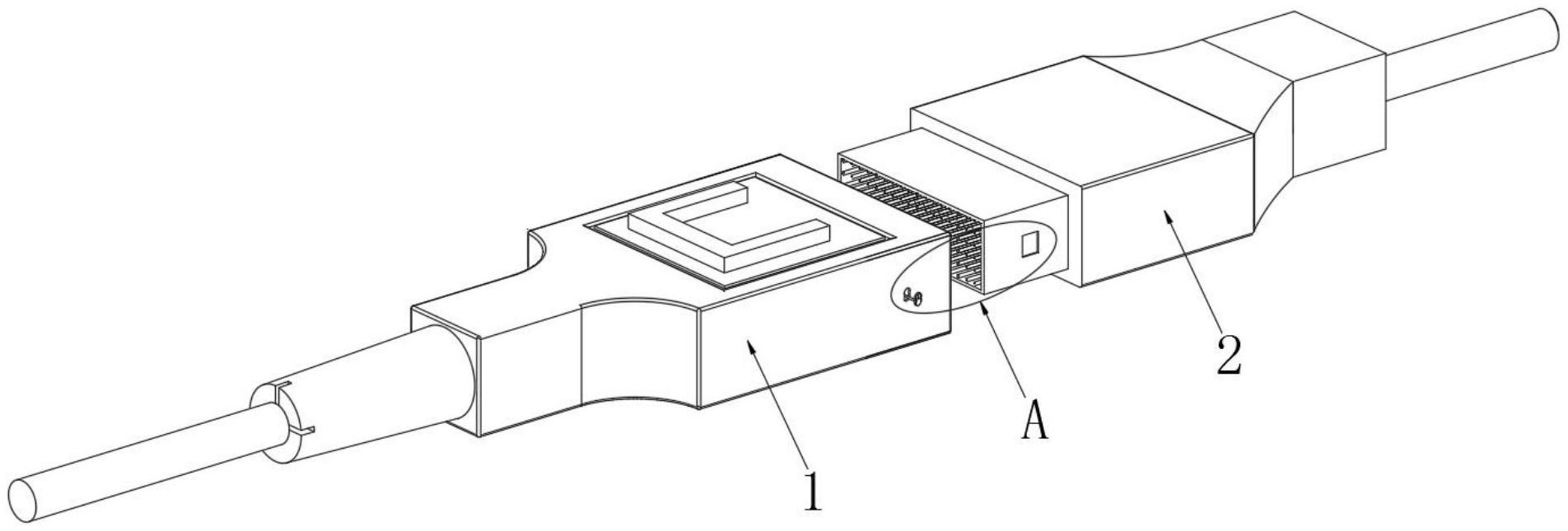
摘要附图摘要本发明公开一种卡扣式电池连接器,包括同轴插接的公端和
图片尺寸1417x1072
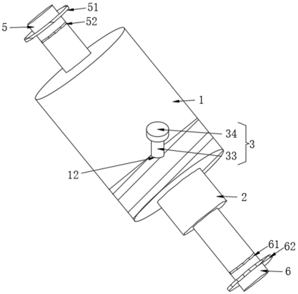
一种插接件结构的制作方法
图片尺寸1965x2006
图片尺寸959x1287
接插元件
图片尺寸554x850