插接结构设计

一种用于镀锌风管的插接式连接结构的制作方法
图片尺寸443x331
一种新型组合结构的快插接头-爱企查
图片尺寸638x799
设计资讯巧妙的插接结构缔造一把简捷高效的椅子
图片尺寸468x312
插接结构产品设计
图片尺寸500x327
一种电力接线插头插接装置-爱企查
图片尺寸728x1310
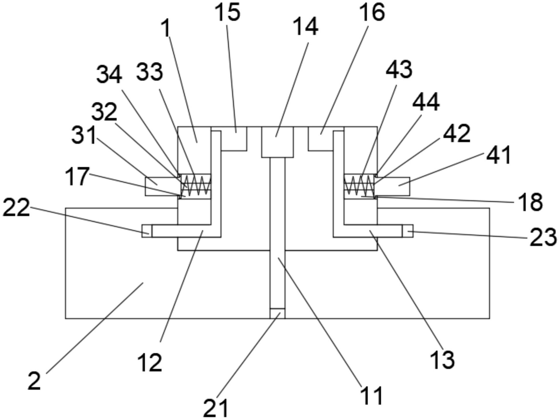
母插头本体设有卡接腔,卡接腔一端为开口以供柱状结构插入,卡接腔周向
图片尺寸2071x924
一种母排插接连接器-爱企查
图片尺寸1390x1084
6 平面上的空间想象和规划:插接构造
图片尺寸1080x1441
一种快速插接头
图片尺寸1863x1200
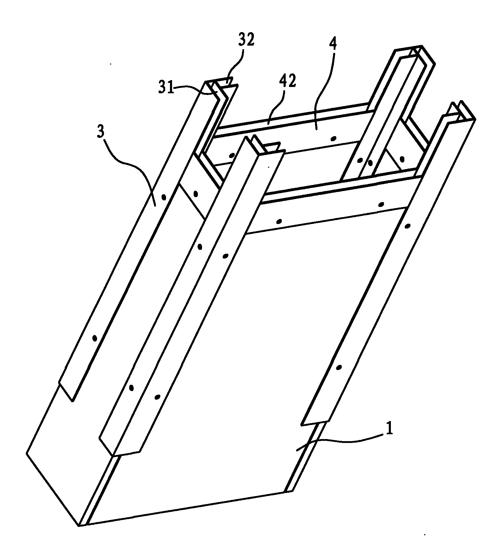
其结构包括相互插接的公端连接器和母端连接器,所述的公端连接器包括
图片尺寸800x601
一种快速插接式组合通风管道
图片尺寸1628x1804
电源输入线,可转换插头,转换调节器,所述插排外壳为长方体结构,所述
图片尺寸342x271
一种管件插接自锁连接结构的制作方法
图片尺寸443x311
cn110566741a_一种快插接头连接结构在审
图片尺寸872x1000
一种插接结构儿童床
图片尺寸1880x1653
一种汽车灯具接插结构制造技术,汽车灯具结构设计专利_技高网
图片尺寸927x1000
插接箱手动操作机构-爱企查
图片尺寸1648x1614
一种无人机机翼快速插接结构
图片尺寸859x1205
一种管道连接结构的制作方法
图片尺寸443x224
种医学实验室插座结构,包括导轨和电源插座,所述电源插座具有火线接脚
图片尺寸1940x1456