搅拌器装置图

搅拌装置常规设计方法
图片尺寸830x1224
絮凝剂框式混合搅拌机-絮凝剂框式混合搅拌机-化工仪器网
图片尺寸1365x865
卧式搅拌器结构
图片尺寸820x579
搅拌器的机械设计
图片尺寸608x846
搅拌器的机械设计
图片尺寸1157x866
搅拌器设计选型
图片尺寸975x1347
s312120变频电动搅拌器
图片尺寸546x1024
混凝土搅拌机结构设计【jzc750型】
图片尺寸1200x800
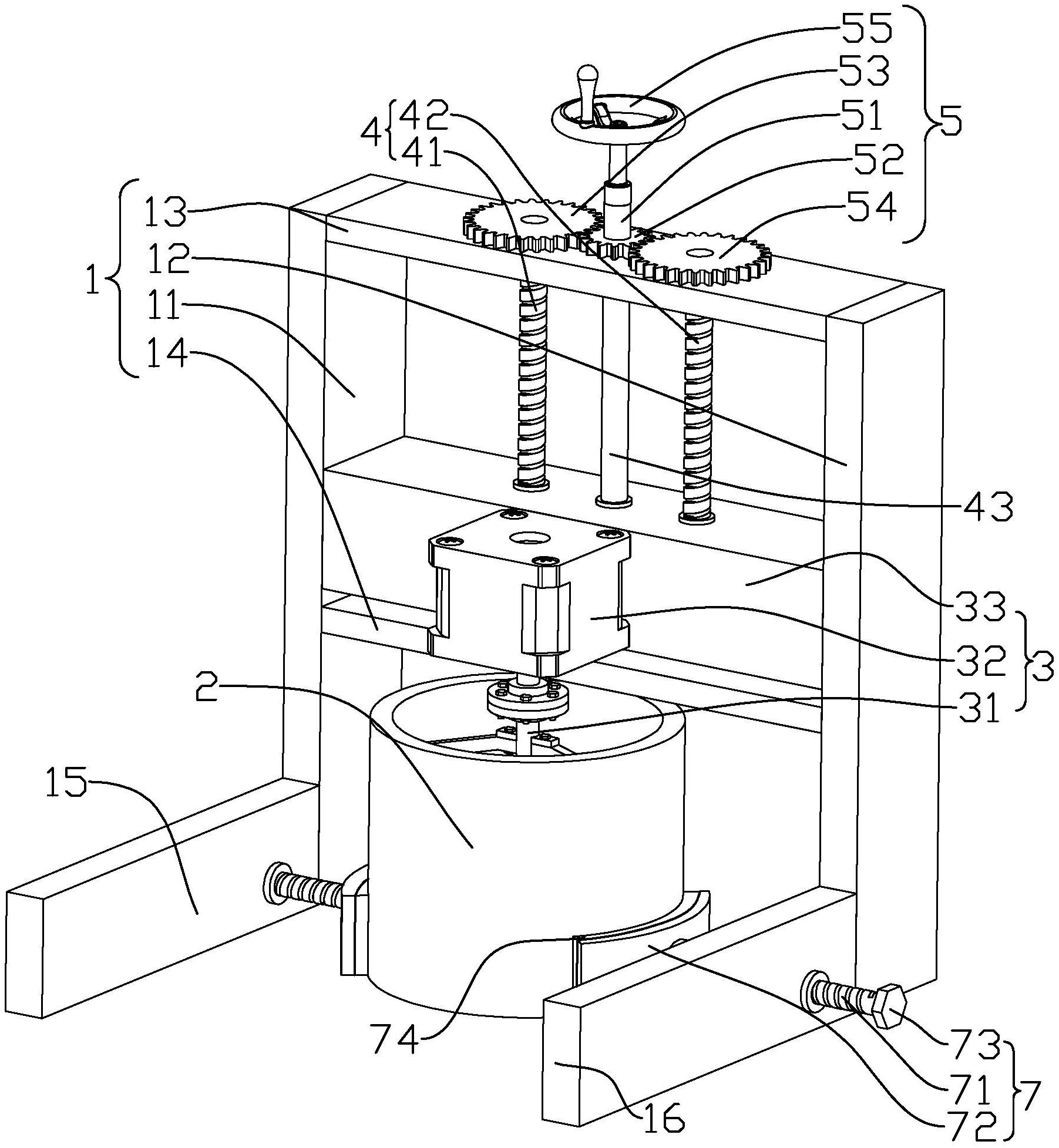
一种无机涂料生产用搅拌装置
图片尺寸1803x1955
两相电 一体化加药装置 投药搅拌桶 搅拌机加药设备 洗洁精搅拌器
图片尺寸800x800
cn108079835a_热固性涂料混合搅拌装置在审
图片尺寸1536x1826
具有外置搅拌装置的集热式恒温加热磁力搅拌器
图片尺寸2151x1796
cn213198218u_一种混凝土高效搅拌装置
图片尺寸1711x2269
侧向伸入式具有双层机械密封装置的搅拌器
图片尺寸1649x1486
一种用于盐水池的全方位搅拌装置的制作方法
图片尺寸692x1000
搅拌器装配图
图片尺寸942x678
cn201516336u_搅拌装置有效
图片尺寸1442x1992
一种安全型房屋建筑工程施工用水泥搅拌装置-爱企查
图片尺寸800x644
一种红薯粉加工用搅拌装置的制作方法
图片尺寸709x1000
一种润滑油生产加工用的搅拌装置,包括固定支架,搅拌桶和太阳能加热器
图片尺寸1473x1815