搅拌轴结构图

一种混凝土搅拌机用搅拌轴的制作方法
图片尺寸885x1000
搅拌装置的搅拌轴安装结构
图片尺寸995x1000
无菌罐搅拌轴固定结构的制作方法
图片尺寸732x1000
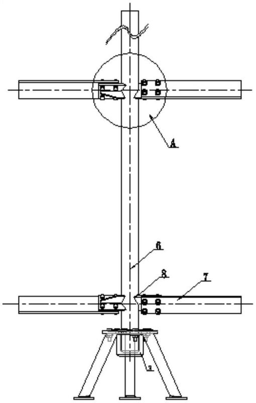
搅拌轴
图片尺寸1778x2530
一种生物酶搅拌设备的搅拌轴的制作方法
图片尺寸707x1000
a1-搅拌轴.dwg
图片尺寸1200x800
一种浆料搅拌机用搅拌轴制造技术
图片尺寸1000x576
一种快捷拆装,更换的搅拌轴结构
图片尺寸1404x1532
cn202146781u_一种反应釜的搅拌轴失效
图片尺寸800x863
过滤机搅拌轴头轴
图片尺寸1198x806
cn206560806u_一种油墨搅拌的双叶螺旋搅拌轴有效
图片尺寸1000x943
侧向伸入式搅拌器的结构主要有电机,过渡法兰,减速机,传动轴,机架,夹
图片尺寸660x340
搅拌轴水封机构的制作方法
图片尺寸749x1000
一种适用于高粘度厚重物料的高速分散机的搅拌轴
图片尺寸439x398
一种双卧轴混凝土搅拌机卸料机构
图片尺寸1709x1436
器(rührwerkskugelmühle)的搅拌轴(rührwelle),其具有模块化的结构
图片尺寸443x415
一种真空搅拌机用搅拌轴制造技术
图片尺寸1000x440
搅拌轴-其中一零件图
图片尺寸732x515
一种用于油墨搅拌的螺旋搅拌轴的制作方法
图片尺寸877x1000
一种搅拌轴的安装结构-爱企查
图片尺寸510x800