摇纱机配件

摇纱机配件
图片尺寸300x300
出售全套b701 b702摇纱机配件(厂家直销)
图片尺寸600x337
江苏芜湖纺织机械常用配件 507细纱机配件价格 纺机配件厂家
图片尺寸750x750
田驹红旗海鹰星耀喷气织机配件后梁摇臂传动关节纺织机械配件
图片尺寸1000x1000
太阳洲针织圆机配件小提花输纱器 dpf1-b半消极式储纱输纱送纱装
图片尺寸840x760
厂家批发细纱摇架气动摇架纺织机配件气动摇架精梳机摇架量大从优
图片尺寸800x800
80.90锭子纱管座110 130型花盘普通机高速机配件编织机走马机
图片尺寸360x360
电子成型高速精密摇绞机
图片尺寸1024x576
绞纱机摇纱机用美斯丹空气捻接器纱线无接头
图片尺寸720x959
纺织配件倍捻机轴承608尼龙74夹盘顶盘夹片包纱机顶盘加弹机顶盘
图片尺寸360x340
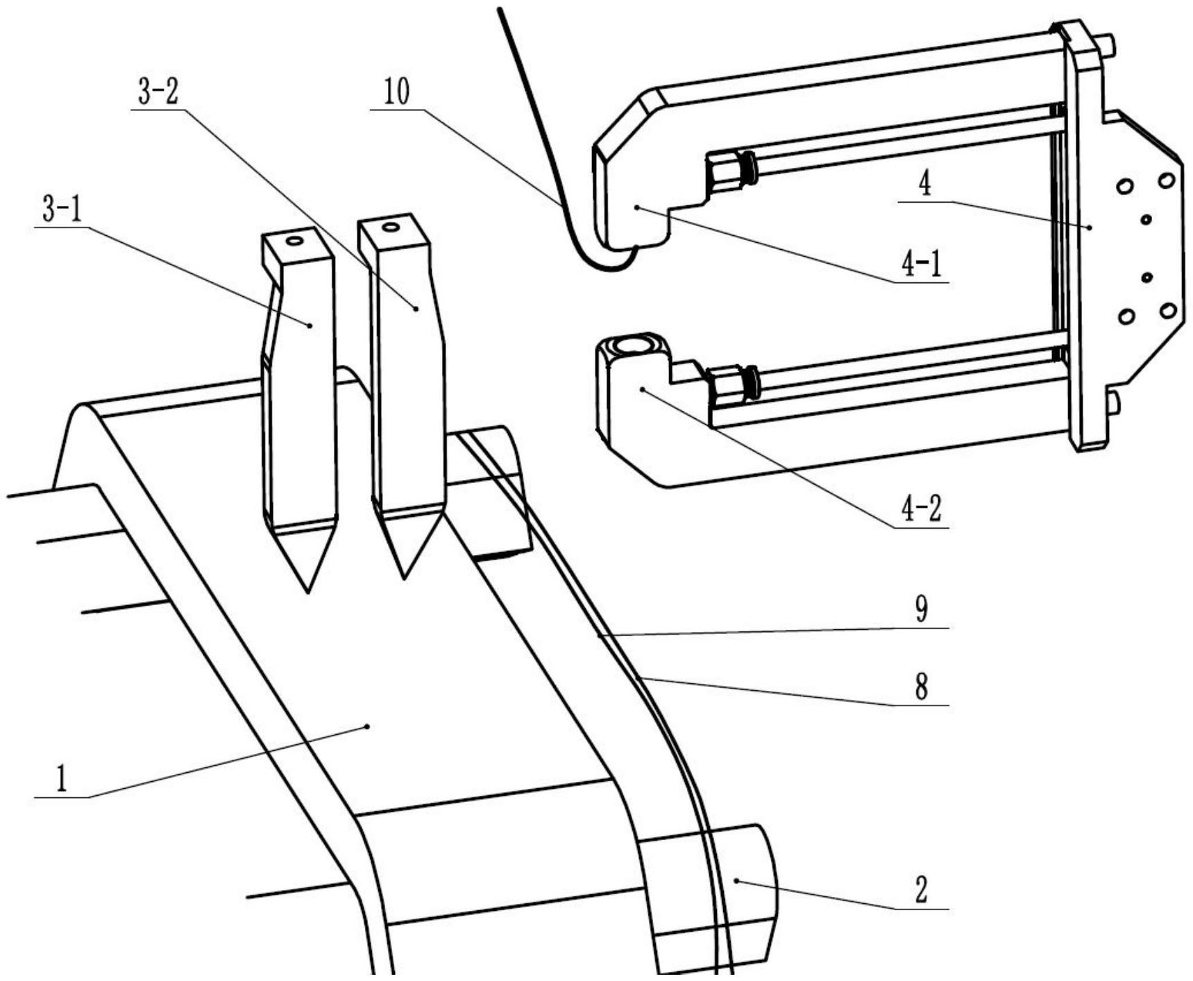
一种摇绞机绞纱自动分股绑绞装置
图片尺寸1719x1414
厂家生产纺织配件纺机配件粗纱细纱紧密纺毛纺清花纺织器材
图片尺寸667x932
高速摇纱机 摇绞机 翻绞机 筒纱打绞纱设备
图片尺寸1920x1440
▇ 产品简述本产品将纱管上的试样纱线用纱框摇取缕纱,能选择测量摇纱
图片尺寸4096x3072
mj电磁阀 博纳斯纺机配件-阿里巴巴
图片尺寸1920x1920
大圆机配件 纱嘴 喂纱棒 陶瓷头纱咀 纱嘴棒
图片尺寸1024x768
金富士同步轮赛美格输纱器轮离合器牙带轮氨纶架冲孔带轮针织配件
图片尺寸750x750
批发供应精密纺配件 导纱杆支架 纺机配件
图片尺寸1920x1440
倒纱机配件
图片尺寸300x300
摆杆摆臂南洋三普高速编织机纺织机配件甩卖电线高速编织机
图片尺寸270x360