摇臂安装图

占美摇臂(jimmy jib)安装指导图解
图片尺寸550x526
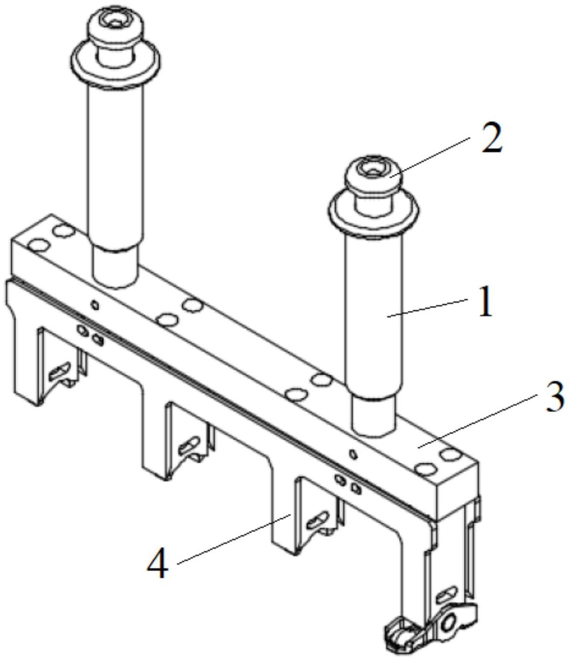
一种电动摇臂,其特征在于,包括旋转座结构,安装于旋转座结构上并可
图片尺寸598x358
包括底座,摇臂,以及托盘,所述摇臂的一端通过第一安装轴铰接于所述
图片尺寸1030x1175
摇臂安装讲解
图片尺寸640x352
大型液压装载机摇臂的制作方法
图片尺寸444x269
一种滚珠摇臂安装辅助工具-爱企查
图片尺寸1122x1301
摇臂衬套在后摇臂的安装位置(见图10),后摇臂衬套的拆卸最好使用
图片尺寸1244x901
犇博机械 洗车悬臂支架 户外洗车摇臂立柱 自助洗车 3米高
图片尺寸1920x1280
一种汽车发动机的摇臂轴安装结构-爱企查
图片尺寸260x260
5米摇臂安装教程
图片尺寸640x360
高清m型碳纤摇臂4米智稳三轴陀螺仪
图片尺寸800x533
六米伸缩拔插摇臂臂体安装后
图片尺寸5616x3744
在底座上添加横向滑轨,立柱安装在横向滑轨上,可以实现摇臂上下,左右
图片尺寸1000x854
激光切割料机悬臂真空吸盘吊具钢板提升吸吊机气动摇臂吊机其他起重
图片尺寸344x400
摇臂安装的注意事项
图片尺寸700x523
焊机摇臂销售厂家_旭泰机械 已认证 _焊机摇臂
图片尺寸700x548
一种换挡气缸和换挡摇臂的制作方法
图片尺寸926x1000
g2s通用效应摇臂安装 delta_effector,dual_extruder,geeetech_g2s
图片尺寸628x472
全网热卖z3040x13液压锁紧摇臂钻床电动升降专业品质价格低
图片尺寸500x754
摇臂式菱形月球车移动系统,它包括可转动的车架以及安装于车架上呈
图片尺寸360x248