撒放器图纸

一种钳式撒放器
图片尺寸1000x758
单钩撒放器的制作方法
图片尺寸412x443
双钩撒放器
图片尺寸1000x478
dlask 1911 mainspring housing, various
图片尺寸1039x834
单钩撒放器
图片尺寸360x239
一种替代内燃机车撒砂装置的装置及方法
图片尺寸1848x1050
procédé et dispositif de fabrication de botes à
图片尺寸1866x2693
gert zum wahlweisen einstellen der temperatur einer
图片尺寸1842x2908
charge pump and auxiliary pump for hydrostatic tr
图片尺寸1992x2787
positive displacement hydraulic-drive reciprocating compressor
图片尺寸2107x3015
maschine zum zwicken der seiten von schuhoberteilen
图片尺寸2022x2909
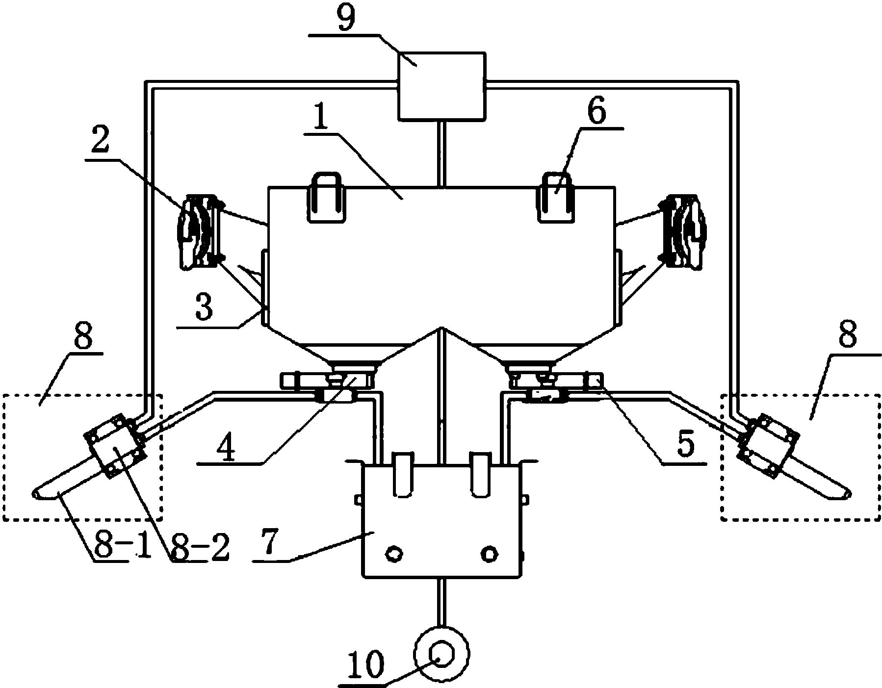
一种机车撒砂装置
图片尺寸1536x1816
spring-loaded dog assembly which enables a bezel
图片尺寸3273x5522
cn106379331b_一种轨道交通车辆用撒砂装置有效
图片尺寸1798x1403
model she530 injection unit a b screw diamete
图片尺寸586x546
物理化学装置的制造及其应用技术
图片尺寸960x1000
撒放弹弓不锈钢器卡球锁器鱼镖释放射可改腕撒明插销
图片尺寸561x585
box-type two-stroke internal combustion engine for
图片尺寸2004x2966
system and method for injecting a chemical downhol
图片尺寸1506x2390
system, method and apparatus for automatically fill
图片尺寸1882x2539