撒放器解剖

一种钳式撒放器
图片尺寸1000x758
烟花的哨声和绚丽的颜色是怎么产生的
图片尺寸660x530
这个零件叫什么
图片尺寸1022x641
08 _ 08 图片_百度百科
图片尺寸758x410
图片浏览
图片尺寸350x279
减振器图片_百度百科
图片尺寸317x560
带后手定位的新式弹弓撒放器的制作方法
图片尺寸1000x951
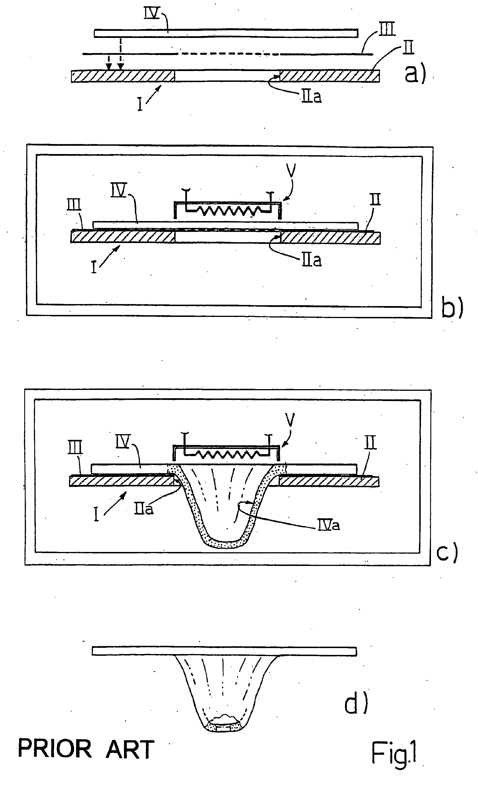
nadelspitzenschutz für perkutane zugangsnadeln
图片尺寸1949x2622
图片浏览
图片尺寸329x242
斯坦 完美x 重金属版 撒放器 拆解初探
图片尺寸1488x930
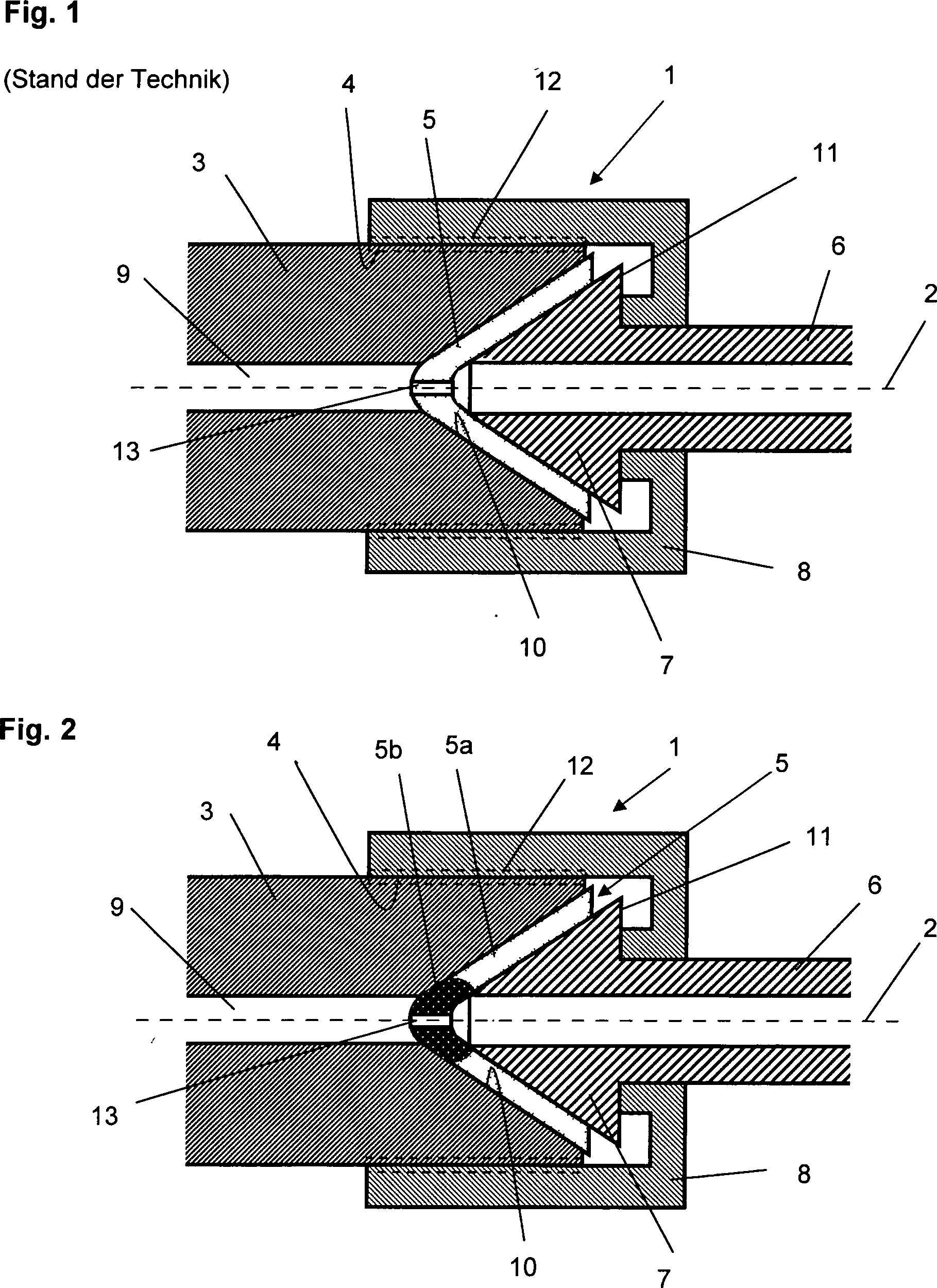
hochdruckverschraubung mit durchflussbegrenzungsanordnung
图片尺寸1819x2499
复合弓撒放器
图片尺寸1080x1439
single- versus double-layer closure of the caesar
图片尺寸1418x1274
亮亮自己最爱的gun 兵器科学小组 果
图片尺寸560x517
charge pump and auxiliary pump for hydrostatic tr
图片尺寸1992x2787
科学通史讲稿14:科学与工业革命【下周起换教室】
图片尺寸538x545
method and apparatus for preparing platelet rich p
图片尺寸1673x2899
verfahren und vorrichtung zum herstellen einer sp
图片尺寸1677x2752
厂家直销**配件迪酷特原装撒放器 优质金属握撒复合**弓配件
图片尺寸702x724
0309½04 69642;0368° 00
图片尺寸680x510