教鞭简笔画

卡通老师站着教鞭
图片尺寸633x1200
手拿教鞭简笔画
图片尺寸500x501
鞭子图标卡通烧焦西方图标从
图片尺寸1100x1100
卡通老师拿着教鞭
图片尺寸1154x1100
老师用教鞭讲课
图片尺寸622x1200
卡通老师站着教鞭
图片尺寸625x1200
手拿教鞭的老师png素材透明免抠图片卡通手绘
图片尺寸610x804
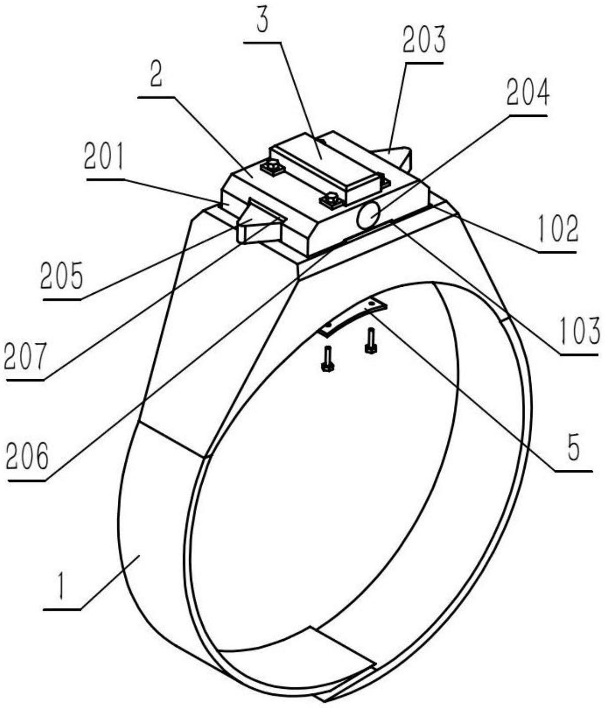
带计时功能的指环式教鞭-爱企查
图片尺寸1197x1400
古文字的"教"字,右边像人手持教鞭(或棍棒),左边一个"子"表示儿童,"子
图片尺寸400x407
鞭炮简笔画鞭炮简笔画带颜色
图片尺寸450x371
男老师拿着教鞭站在黑板前
图片尺寸1100x1100
老师上课简笔画
图片尺寸800x450
搞笑老师与教鞭专业系列
图片尺寸1200x1080
关键词:拿长鞭的人 手绘 线稿 单色 人物 长鞭 设计 动漫动画 动漫
图片尺寸791x987
简笔画鞭炮怎么画幼儿简笔画鞭炮怎么画
图片尺寸257x253
cn202362968u_多功能教鞭失效
图片尺寸1499x1363
图片信息
图片尺寸794x567
鞭子的简笔画
图片尺寸416x335
拿教鞭教课老师人物插画
图片尺寸282x424
儿童简笔画教鞭
图片尺寸1181x1850