数据线结构图

一种多功能数据线的制作方法
图片尺寸762x1000
聊聊手机数据线的猫腻
图片尺寸720x406
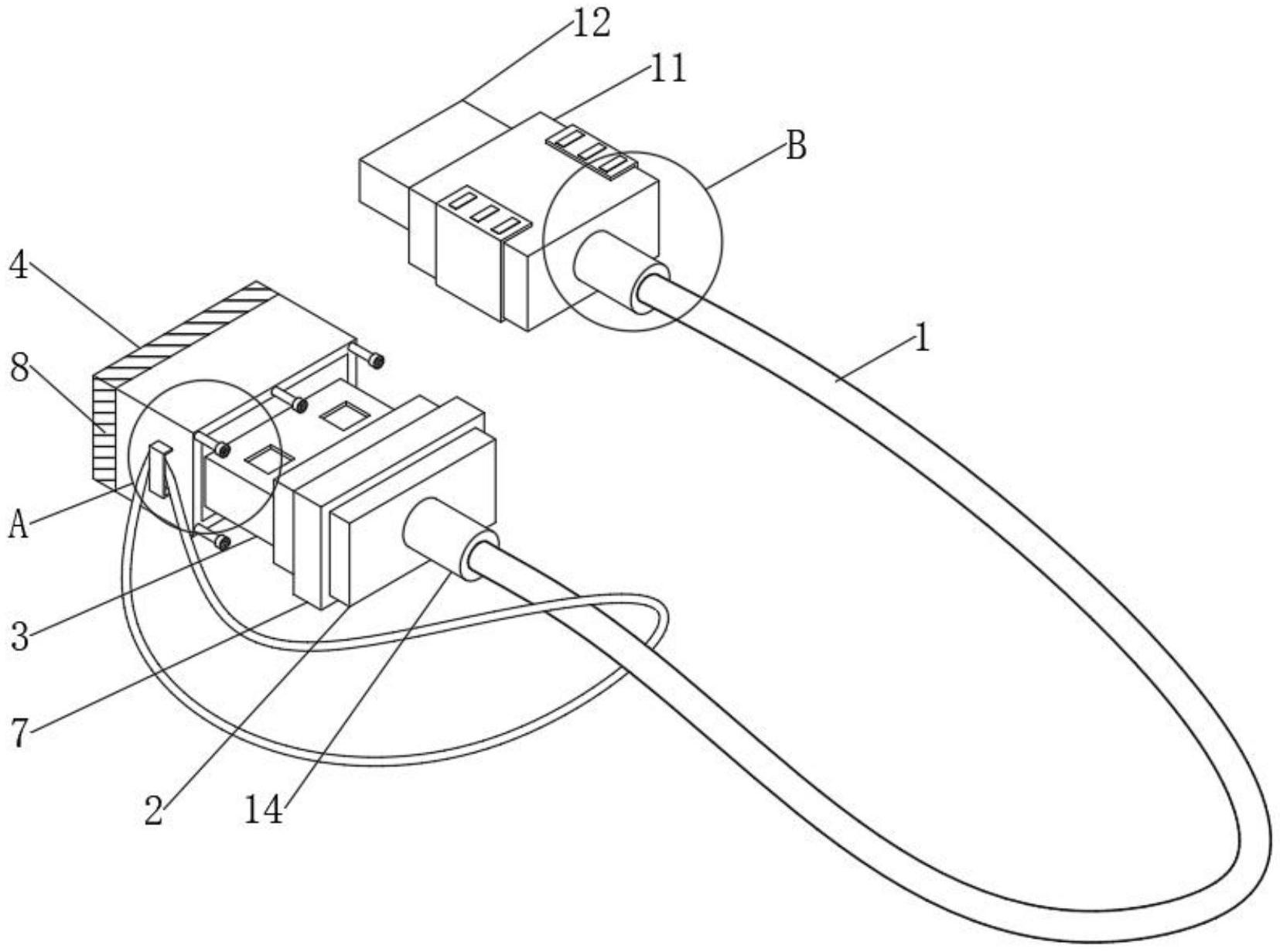
一种耐磨损数据线
图片尺寸1633x1492
为了让消费者更主观认知数据线的结构
图片尺寸1280x954
可以用手机充电器 制作usb延长线 吗?
图片尺寸1236x675
数据线 microto usb 多色
图片尺寸1112x640
剪断的紫色数据线图片
图片尺寸549x616
一种数据线
图片尺寸1000x984
苹果数据线,mfi数据线-mfi数据线厂商-深圳市创盈达电子有限公司
图片尺寸980x500
一种数据线
图片尺寸1811x2202
typec转lightning3a苹果编织数据线
图片尺寸790x1056
一种360度防折数据线
图片尺寸761x1000
一种具有插拔机构的数据线
图片尺寸1655x1231
usb2.0 type a to c数据线
图片尺寸693x425
iphone数据线暴力拆解,12款苹果数据线深度测评
图片尺寸600x388
otg数据线与microusb数据线区别自制otg数据线
图片尺寸527x473
不仅秀外还要慧中四款typec数据线拆解对比
图片尺寸640x427
一种带有手机支架的数据线
图片尺寸1514x1401
一种数据线制造技术
图片尺寸1000x718
一种触摸流光式数据线的制作方法
图片尺寸963x1000