整体吊弦结构

可调式整体吊弦
图片尺寸750x750
整体吊弦结构示意图
图片尺寸560x406
一种应用于电气化铁路的新型绝缘吊弦的制作方法
图片尺寸1000x958
吊弦安装使用说明书
图片尺寸657x743
动吊弦结构示意图 2008-10-21
图片尺寸1080x810
铜整体吊弦10m17mjtm95ctha120
图片尺寸507x363
一种整体吊弦的制作方法
图片尺寸646x1000
接触网整体吊弦的结构类型
图片尺寸920x1302
城市轨道交通用整体吊弦的制作方法
图片尺寸1000x517
耐疲劳型整体吊弦
图片尺寸858x2424
关于刚性整体吊弦运行状态的探讨
图片尺寸957x588
图4.22 吊弦和载流吊弦
图片尺寸829x916
一种可调式载流整体吊弦的制作方法
图片尺寸362x917
接触线吊弦线夹承力索吊弦线夹吊环式无螺栓整体吊弦的制作方法
图片尺寸277x444
城市轨道交通用整体吊弦
图片尺寸1000x517
okex:活了三十几年,今天才知道起重机吊臂原来是这样伸缩的
图片尺寸692x396
一种复合吊弦线及新型整体吊弦的制作方法
图片尺寸217x417
图1-整体载流吊弦结构图
图片尺寸549x604
三弦的构造
图片尺寸627x460
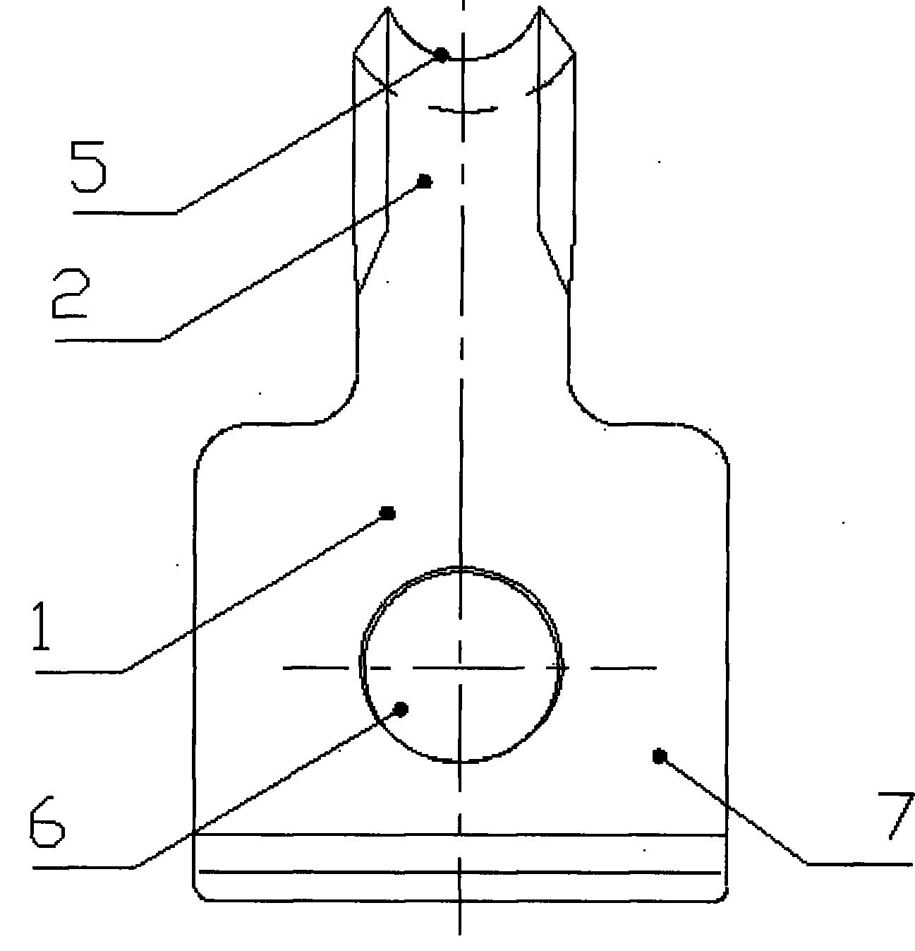
载流整体吊弦装置的接触线吊弦线夹-爱企查
图片尺寸1297x1347