斜拉索构造

斜拉索软牵引总体布置示意图
图片尺寸612x465
大桥斜拉索结构体系图
图片尺寸691x465
斜拉索
图片尺寸2076x1391
平行钢丝拉索 成品索断面图 平行钢丝拉索冷 铸镦头锚构造图
图片尺寸1080x810
斜拉索的构造
图片尺寸666x448
矮塔斜拉桥缆索挂设施工技术
图片尺寸996x378
拉索在索塔上的锚固
图片尺寸1163x459
cn101967796a_一种平行钢丝斜拉索的安装方法
图片尺寸1989x1281
一种斜拉索施工张拉方法与流程
图片尺寸1000x480
基于索力传导补偿的组合式斜拉索同步调索方法与流程
图片尺寸1000x372
一种多功能斜拉桥梁的斜拉索结构-爱企查
图片尺寸800x722
cn105401523b_一种空间受限条件下的长重斜拉索挂设安装方法有效
图片尺寸1000x678
桥梁斜拉索密封技术现状
图片尺寸484x352
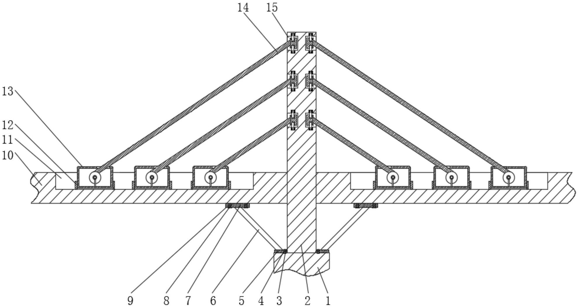
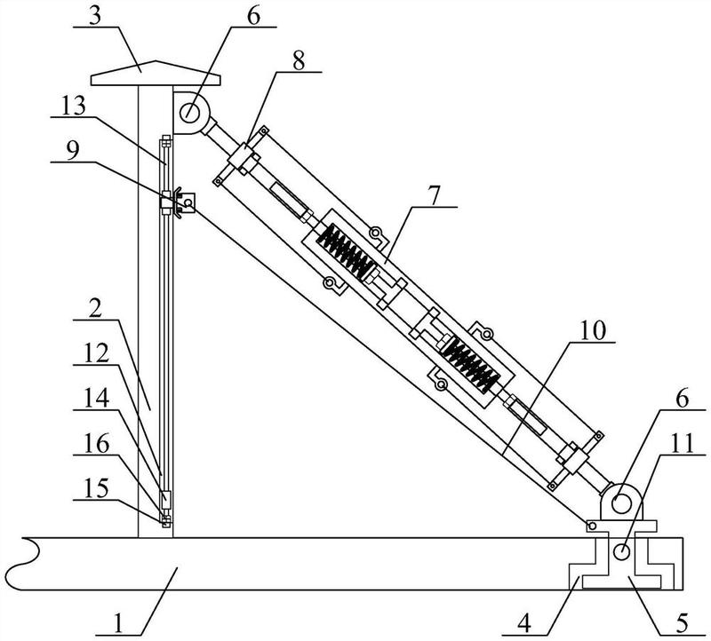
一种斜拉桥梁的斜拉索结构的制作方法
图片尺寸969x521
一种新型斜拉索制造技术
图片尺寸1000x940
斜拉桥斜缆索钢丝锈蚀,断裂怎么办?
图片尺寸802x447
桥梁中的碳纤维复合材料拉索的应用特性
图片尺寸1080x742
图 斜拉桥梁-拉索型基本机构
图片尺寸3150x793
斜拉悬吊协作体系桥梁拉索更换技术
图片尺寸906x841
一种用于水利工程的新型斜拉索桥梁结构
图片尺寸1981x1053