斜盘式压缩机

法雷奥斜盘式空调压缩机体积紧凑,易于集成;此外,它还具有噪音低,耐用
图片尺寸1024x1378
斜盘式压缩机
图片尺寸832x889
斜盘式压缩机jsp320
图片尺寸659x459
mfgablity
图片尺寸800x600
2对于传统空调压缩机而言,斜盘式压缩机是往复式压缩机的主导产品
图片尺寸820x456
双向活塞斜盘式汽车空调压缩机设计-三维图下载_机械手|机器人|数控
图片尺寸820x578
如检查到调节器和电磁阀部分工作不正常,液压泵的斜盘角度就无法调整
图片尺寸500x281
机械产品三维动画案例展示
图片尺寸1280x711
51y双级活塞压缩机 产品归类:双级压缩机 产品价格:电议
图片尺寸1574x1337
双向斜板式压缩机6p系列
图片尺寸607x443
0l以下);2对于传统空调压缩机而言,斜盘式压缩机是往复式压缩机的主导
图片尺寸820x456
斜盘压缩机斜盘压缩机涡旋压缩机几种常见结构压缩机有旋转式和活塞式
图片尺寸400x350
潍坊力才机械有限公司相册图片
图片尺寸900x600
斜板式压缩机斜盘式压缩机涡旋式压缩机几款常见结构压缩机有旋转式与
图片尺寸910x627
汽车空调斜盘式压缩机结构与工作原理.ppt
图片尺寸1080x810
双向活塞斜盘式汽车空调压缩机设计含cad零件装配图igssolidworks三维
图片尺寸696x874
斜盘式压缩机
图片尺寸963x634
单向摇盘式压缩机双向斜盘式压缩机的运动过程双向斜盘式压缩机组成
图片尺寸939x521
由于斜盘式压缩机的 活塞双向作用,因此在它的两边都装有前,后阀 总成
图片尺寸1080x810
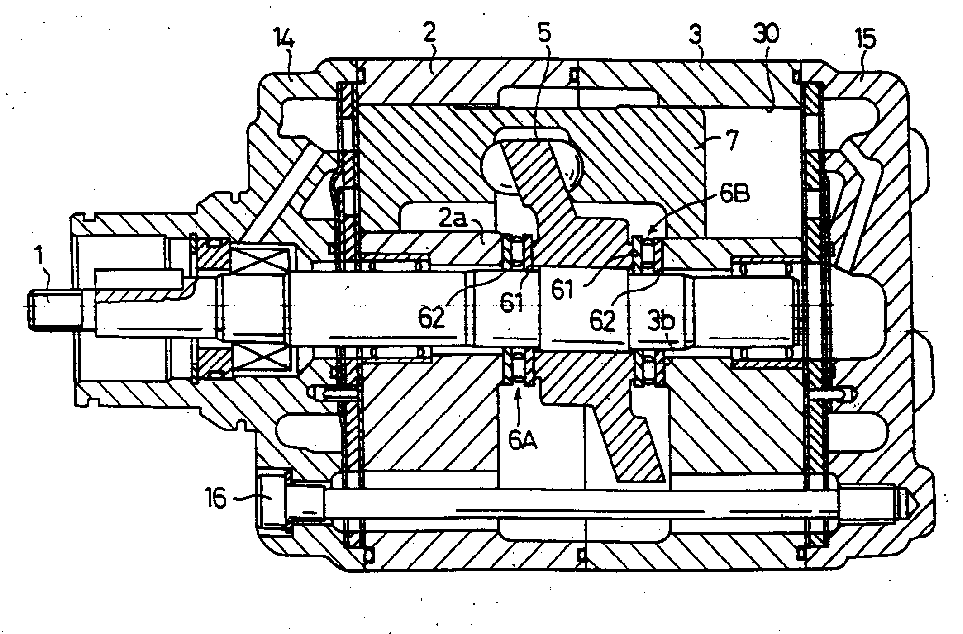
具有可变化排气量的机构的斜盘式压缩机
图片尺寸2432x1728