施肥机平面图

一种农业用施肥机-爱企查
图片尺寸1950x1270
茶园深松施肥机
图片尺寸1097x1479
cn201243462y_一种多功能播种施肥机失效
图片尺寸2733x1992
jj7410-多功能施肥机的设计-机械机电-龙图网
图片尺寸1200x800
一种绞龙式果树施肥机
图片尺寸1776x1256
一种中耕施肥机-爱企查
图片尺寸800x680
一种开沟施肥机-爱企查
图片尺寸1966x1915
cn201222866y_三轮中耕施肥机失效
图片尺寸2665x1380
2bm-6型花生免耕施肥穴播机的研制
图片尺寸1475x1403
一种林果农家肥施肥机的制作方法
图片尺寸443x442
一种精准比例式全自动施肥机-爱企查
图片尺寸498x343
组合式耕耘施肥机
图片尺寸2189x1870
本实用新型公开了一种单圆盘离心式撒肥装置,包括撒肥底盘,撒肥机架
图片尺寸1824x1321
cn2353125y_牵引式农用撒肥机失效
图片尺寸930x693
直排式果树行间便捷施肥机-爱企查
图片尺寸1168x885
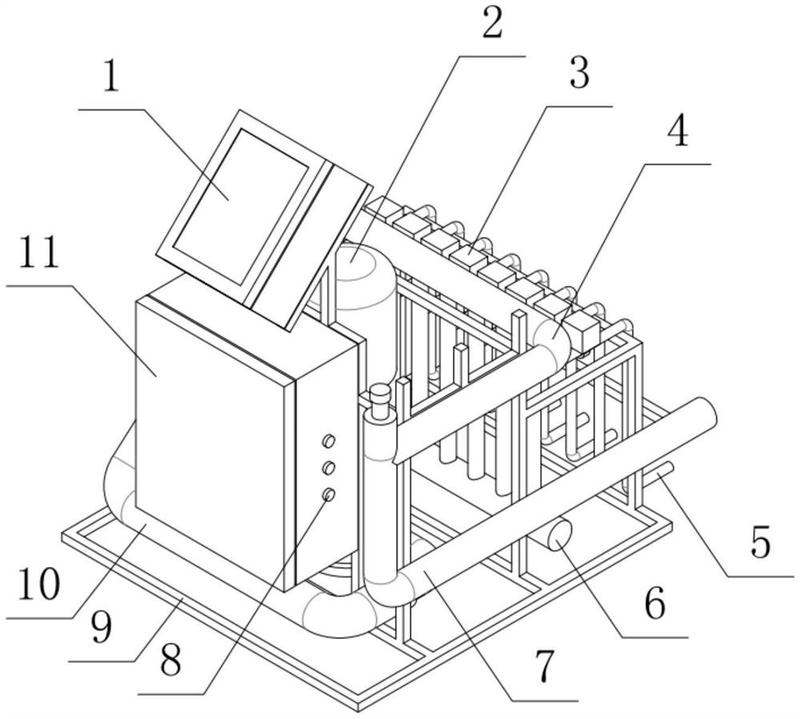
一种阵列式多通道水肥智能精准施肥机-爱企查
图片尺寸800x719
一种双联土下定点施肥机的制作方法
图片尺寸1000x706
一种富硒小米种植用定量施肥机-爱企查
图片尺寸1682x1262
一种施肥均匀的农用施肥机
图片尺寸510x381
一种化肥施肥机的制作方法
图片尺寸1000x996