旁承

弹性旁承多媒体课件改ppt
图片尺寸1080x810
弹性旁承多媒体演示课件.ppt
图片尺寸1152x864
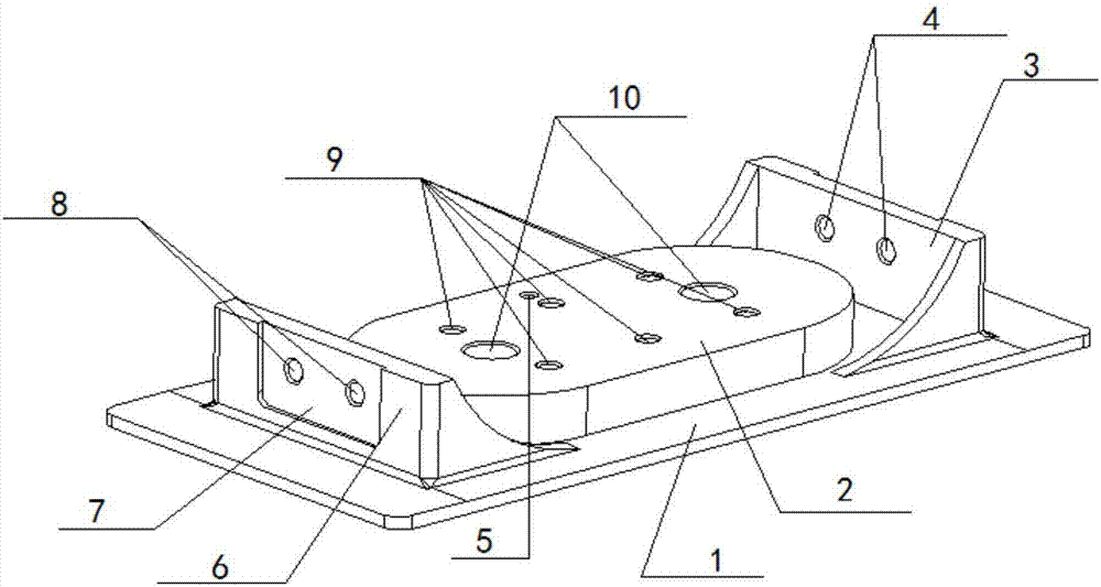
弹性旁承组成 k2加板
图片尺寸400x316
铁路货车旁承座供应商
图片尺寸600x498
旁承座
图片尺寸400x400
jc型双作用弹性旁承体
图片尺寸838x546
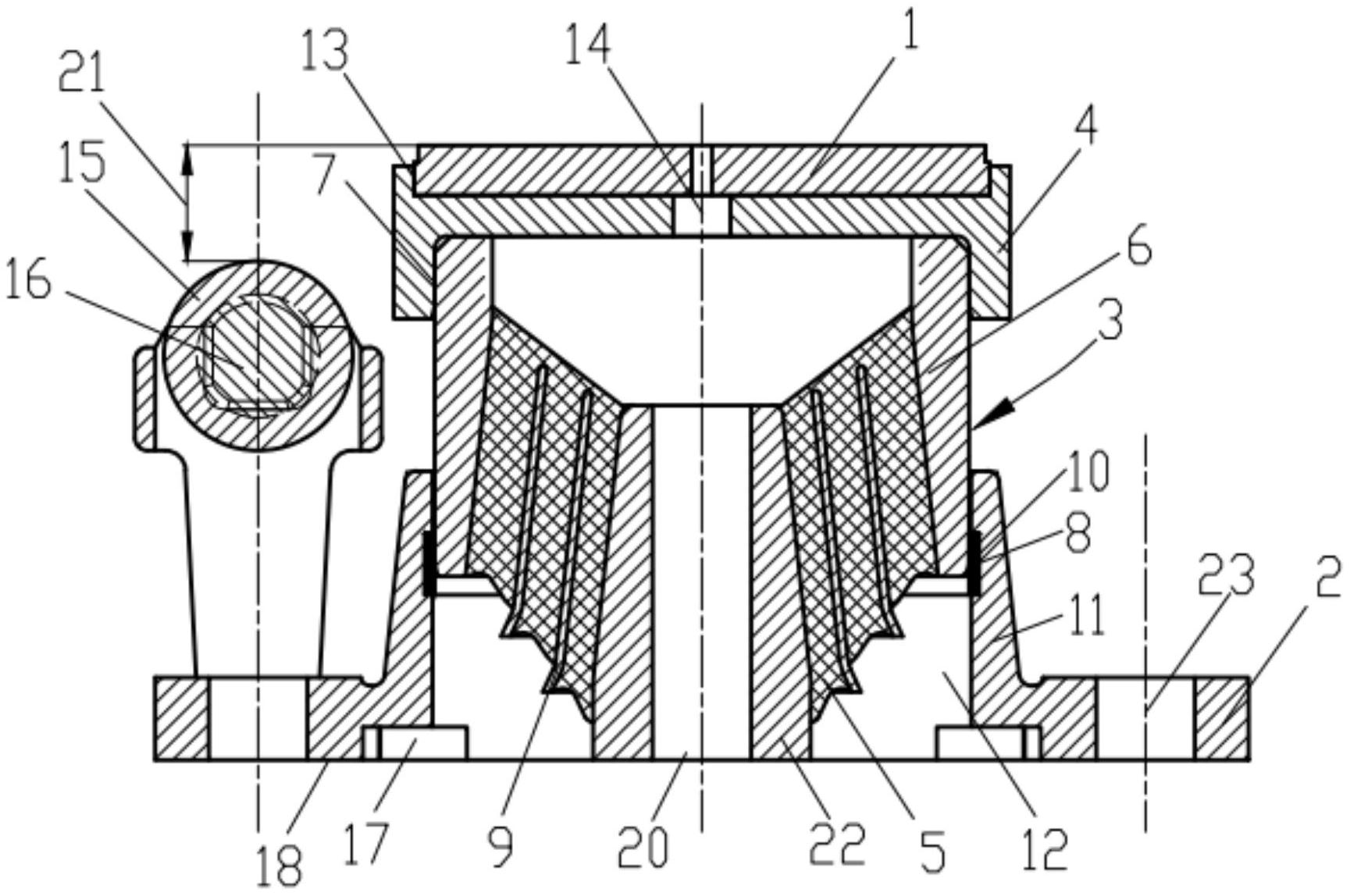
dfg 图3-11 jc型双作用常接触弹性旁承 中国南车集团株洲电 南车眉山
图片尺寸1080x810
现在的生产的转向架还用旁承装置吗?
图片尺寸600x326
铁路货车旁承座哪家好
图片尺寸600x451
铁路轨道车旁承体总成制造技术
图片尺寸1000x532
铁路轨道车旁承体总成
图片尺寸1000x533
常接触式橡胶弹性旁承外形组成见图所示
图片尺寸459x376
cn102180180a_一种弹性旁承有效
图片尺寸1921x1323
n30型轨道平车转k2型转向架换装jc—3型双作用弹性旁承方案说明
图片尺寸802x707
转k2提速改造货车旁承游间调整分析
图片尺寸1488x1987
一种可调式旁承装置
图片尺寸1372x691
一种jc型铁路货车弹性旁承体组合检测工装及检测方法技术
图片尺寸1000x721
二_货车车辆构造ppt
图片尺寸1080x810
一种铁道货车车辆用弹性旁承及铁道货车转向架
图片尺寸1851x1248
铁道货车转向架用长行程弹性旁承及铁道货车转向架
图片尺寸1729x1148