旋塞阀结构

首先来看一下旋塞阀主体结构的剖面图:那么国产的旋塞阀是如何满足
图片尺寸639x390
x41f美标法兰式卡套旋塞阀结构图
图片尺寸909x741
旋塞阀的作用及结构图分析-本站原创新闻资讯-工博士
图片尺寸572x529
旋塞阀结构图
图片尺寸600x620
五,⑤旋塞阀结构及应用---阀门知识简介完全版(中)
图片尺寸960x720
二通全铜旋塞阀x43w-1.0t
图片尺寸389x305
什么才是旋塞阀什么叫旋塞阀
图片尺寸458x348
三通内螺纹全铜旋塞阀
图片尺寸505x278
弹性座封偏心旋塞阀
图片尺寸416x467
旋塞阀(plug valve)内部结构详解
图片尺寸515x495
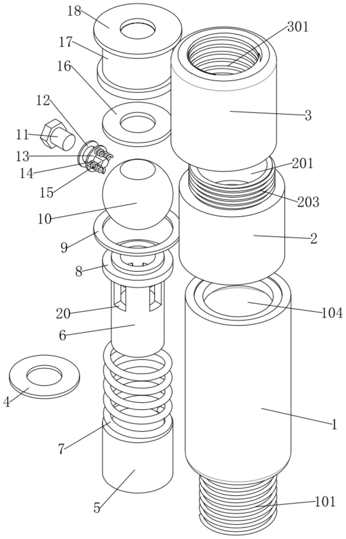
一种手动旋塞阀改自动旋塞阀的改装结构的制作方法
图片尺寸1704x2184
一种用于工业油生产的寿命长旋塞阀
图片尺寸1689x1491
旋塞阀构造按结构形式可分为紧定式旋塞阀,自封式旋塞阀,填料式旋塞阀
图片尺寸397x567
一种旋塞节流式截止阀-爱企查
图片尺寸1661x2083
进口旋塞阀的原理与主要分类
图片尺寸379x572
化工高粘度液体保温夹套旋塞阀设计选型
图片尺寸3508x2479
双密封旋塞阀
图片尺寸1036x1280
旋塞由阀芯和阀瓣组成圆柱体形状,阀芯流道通孔的两侧通过燕尾槽结构
图片尺寸1709x2303
轨道式旋塞阀,ldgx43h轨道式旋塞阀,品牌厂家-上海良大阀门有限公司
图片尺寸540x279
cn112963573a_一种石油钻井多功能安全旋塞阀
图片尺寸1470x2291