旋流器图纸

nzx300旋流器 - 污水处理设备图纸 - 沐风网
图片尺寸760x1075
一种用于铜矿选矿的水力旋流器的制作方法
图片尺寸637x1000
2nzx900旋流器安装总图下载(122.06k,dwg格式) 机械cad图纸
图片尺寸869x614
旋流器
图片尺寸554x539
一种旋流燃烧器烧损判定及调整方法专利_专利查询 - 天眼查
图片尺寸1719x1013
fx350旋流器总装图下载(117.91 kb,dwg格式) 机械cad图纸
图片尺寸318x349
无等降水力旋流器专利_专利申请于2015-12-11_专利查询 - 天眼查
图片尺寸1220x2065
一种新型浓缩分级旋流器组专利_专利申请于2020-03-25_专利查询 - 天
图片尺寸1727x2163
燃煤机石灰石-石膏湿法烟气脱硫旋流器工艺流程吸收塔cad图纸档a7
图片尺寸978x978
一种高效脱水旋流器专利_专利申请于2008-01-10_专利查询 - 天眼查
图片尺寸1088x2161
一种水力旋流器组的配置结构专利_专利申请于undefined_专利查询 - 天
图片尺寸1638x1826
一种生产淀粉用的多级旋流器专利_专利申请于2019-12-28_专利查询 -
图片尺寸1070x1466
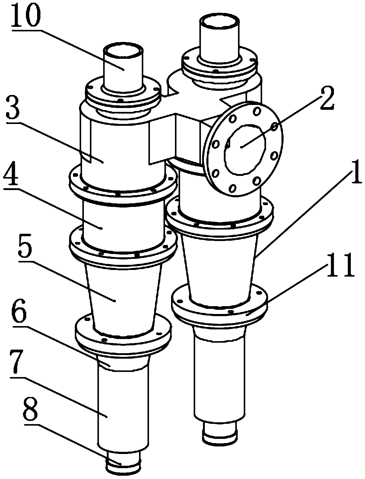
一种并联式双子水力旋流器专利_专利申请于2019-03-11_专利查询 - 天
图片尺寸1210x1588
一种二级复合磁场磁力旋流器专利_专利申请于2018-06-01_专利查询 -
图片尺寸1371x2741
图书章节详情
图片尺寸1160x736
一种可稀释高浓度石膏浆液的旋流器专利_专利查询 - 天眼查
图片尺寸1084x1006
水力旋流器型号规格及选型方案
图片尺寸690x526
水力旋流器-水利旋流器工作原理-水力旋流器技术参数 - 山东鑫海矿装
图片尺寸606x735
fx350-t旋流器cad图纸下载(dwg格式)机械cad图纸
图片尺寸641x465
fx-250型分级水力旋流器装配图下载(300.81 kb,dwg格式) 机械cad图纸
图片尺寸665x450