旋转固定装置

旋转固定装置
图片尺寸300x225
旋转固定装置模型图
图片尺寸300x225
快速旋转固定夹紧装置
图片尺寸820x540
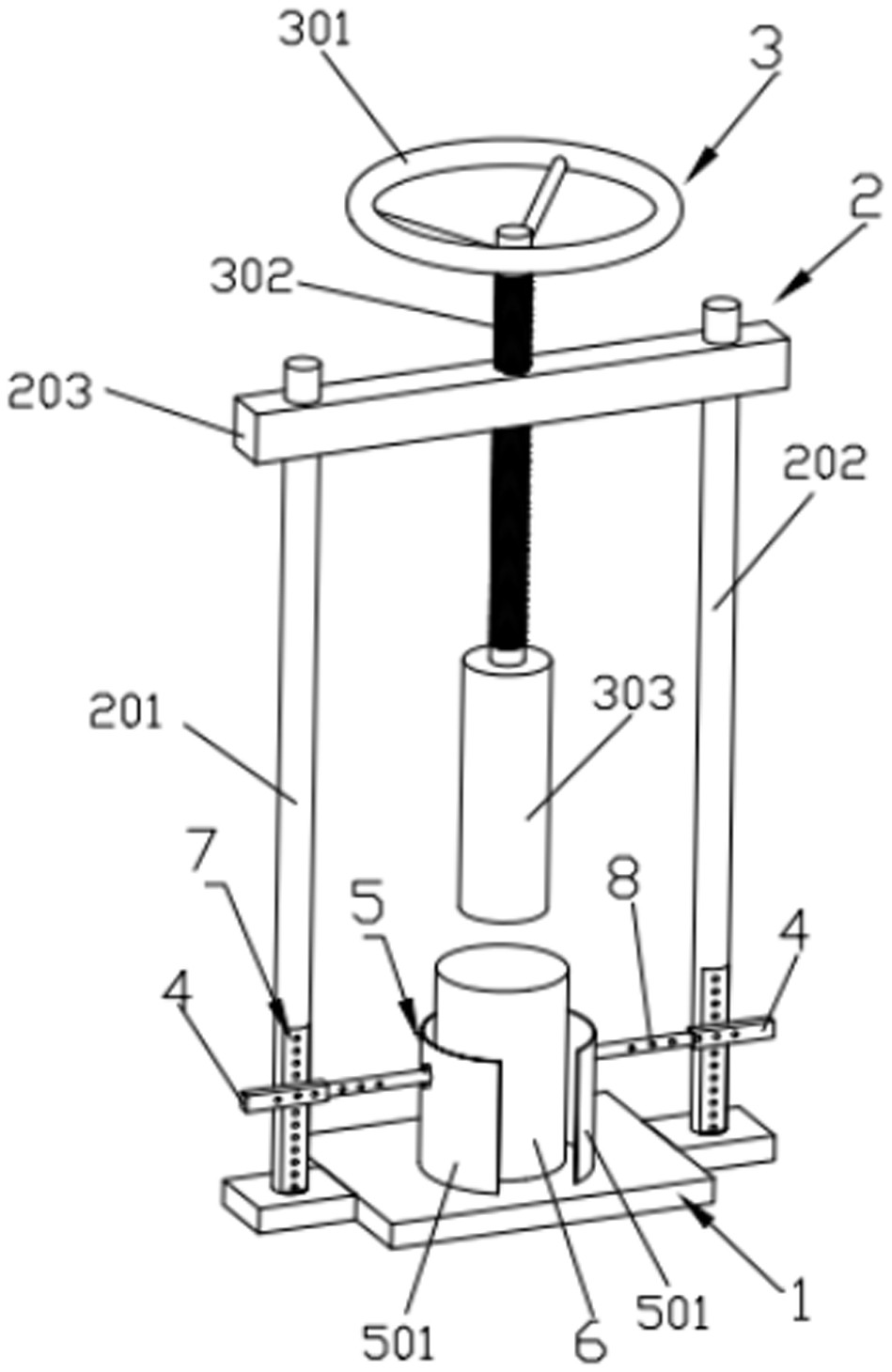
一种用于旋转压实试件钻芯的固定装置
图片尺寸949x1460
一种专用于机床上的夹紧装置,可以将工件固定在机器上进行旋转和加工
图片尺寸511x500
旋转漏斗式供料装置-料斗固定型
图片尺寸300x225
一种焊接机器人用旋转固定装置的制作方法
图片尺寸444x408
一种旋转定位装置-爱企查
图片尺寸1472x1472
一种固定式螺栓拧紧枪旋转切换装置
图片尺寸1689x2493
3款dk快动旋转装置夹
图片尺寸820x583
一种搓管机管道固定旋转装置
图片尺寸1729x1401
一种可自动旋转的固定装置的制作方法
图片尺寸1000x826
2 爪 3 爪高转速低扭矩整体气缸 rts 旋转空气卡盘固定装置内置卡盘阀
图片尺寸1000x1000
一种硬件开发多角度旋转用固定装置的制作方法
图片尺寸1000x934
一种用于空气循环机旋转叶轮装配的固定装置
图片尺寸344x360
旋转展示平台装置
图片尺寸820x585
一种医疗管材固定旋转测试装置
图片尺寸1873x1362
旋转托盘固定装置的制作方法
图片尺寸1000x702
一种定子铁芯高效嵌线用旋转式托盘装置-爱企查
图片尺寸477x439
工匠解说2020基座相对固定;主轴旋转装置可延z轴方向上下运动,实现钻
图片尺寸1167x727