旋转夹具设计

360度旋转夹爪设计,如何自动夹持及自动旋转?
图片尺寸1465x916
旋转夹具(快)
图片尺寸1728x1080
圆柱形工件旋转定位夹具solidworks三维模型
图片尺寸291x218
工件翻转夹具手动旋转机构
图片尺寸387x488
旋转安装夹具
图片尺寸662x725
工件翻转夹具手动旋转机构
图片尺寸530x500
一款旋转夹紧工装
图片尺寸530x336
360度旋转双螺旋黄铜金属床篆刻床初学者雕刻夹床印台一体式篆刻工具
图片尺寸800x800
焊接工装 焊接夹具 焊接旋转工装设计图库目录
图片尺寸530x300
旋转安装夹具
图片尺寸652x742
带旋转索引的旋转夹具设计模型这是一款旋转多工位的夹具设计图
图片尺寸968x709
旋转夹取工装
图片尺寸651x637
旋转夹具底座和尾架
图片尺寸812x739
一款旋转夹紧工装
图片尺寸495x478
旋转夹具上下调整
图片尺寸783x911
液压旋转夹具
图片尺寸530x338
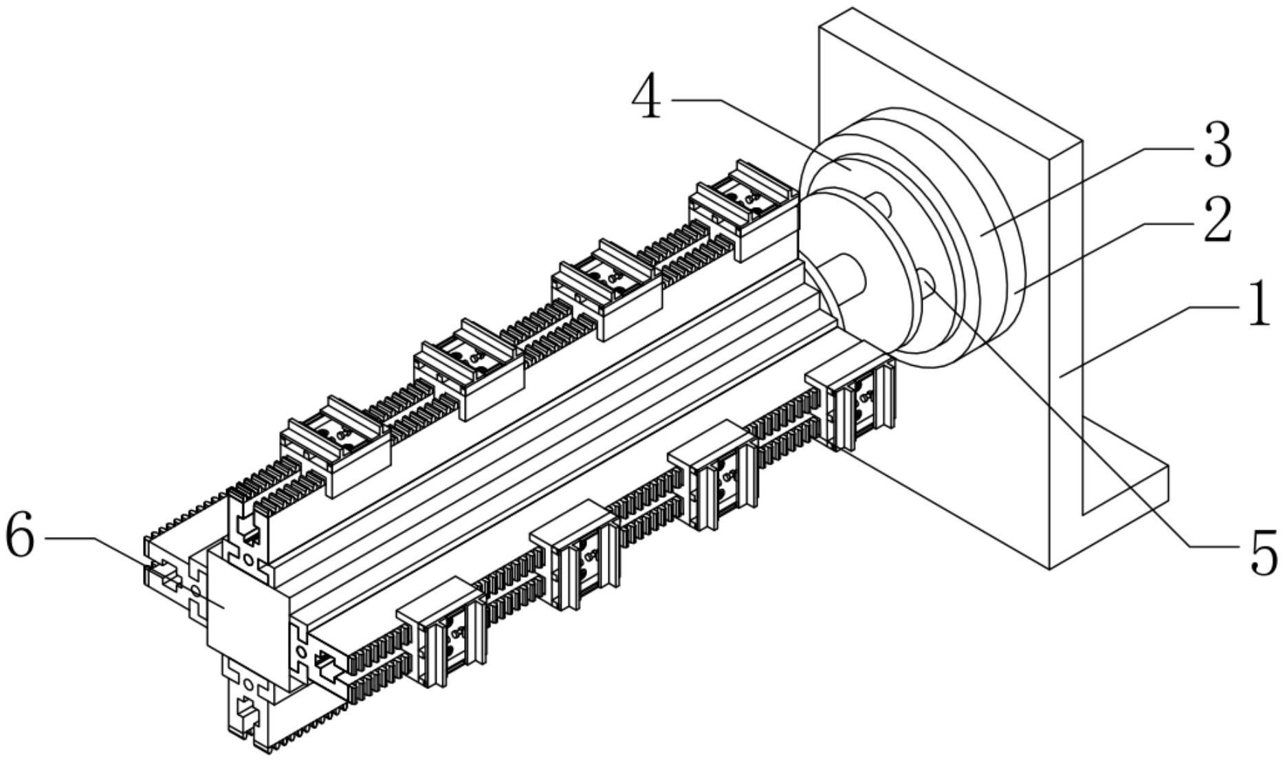
一种汽车零部件高精度旋转装夹夹具
图片尺寸1869x1108
旋转工件夹具
图片尺寸928x646
旋转检测夹具
图片尺寸509x416
旋转夹具设计图库目录
图片尺寸530x278