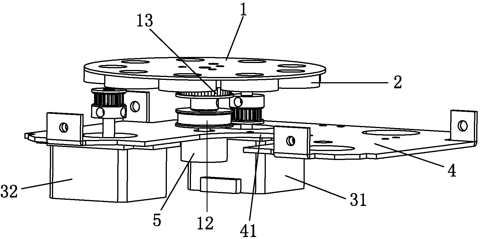
旋转盘结构

cn210941444u_稳定转动的转盘结构有效
图片尺寸1000x944
稳定转动的转盘结构的制作方法
图片尺寸1000x944
一种双齿轮传动转盘结构的制作方法
图片尺寸956x1000
转盘机构的制作方法
图片尺寸1000x857
转盘旋转结构的制作方法
图片尺寸1000x658
圆转盘驱动功率会随支撑轮的半径增加而增加不符合能量守恒?
图片尺寸709x495
一种旋转盘导向定位机构的制作方法
图片尺寸1000x569
旋转转盘式机构
图片尺寸642x537
一种摩天轮的单管转盘结构的制作方法
图片尺寸975x1000
一种多通道旋转盘的制作方法
图片尺寸443x355
用于铁锅炖餐桌的旋转底盘的制作方法
图片尺寸559x607
一种用于旋转盘式反应器的旋转圆盘的制作方法
图片尺寸1000x879
一种成像灯图案盘旋转结构
图片尺寸1654x823
高速转盘旋转吸料结构
图片尺寸1011x663
一种螺旋输送机旋转调节盘的制作方法
图片尺寸1000x875
【技术实现步骤摘要】 本技术涉及转盘结构,尤其是一种多转盘同步旋转
图片尺寸1000x866
旋转料盘结构
图片尺寸492x380
一种包装机械的转盘结构制造技术
图片尺寸904x1000
一种反应杯旋转盘机构的制作方法
图片尺寸443x346
旋转盘结构
图片尺寸1100x850