旋风筒结构图

旋风除尘器结构图.jpg
图片尺寸800x800
旋风除尘器流程图
图片尺寸435x450
旋风筒分离器耐磨耐火材料磨损破坏的几方面原因
图片尺寸700x525
旋风除尘器结构
图片尺寸468x592
旋风除尘器的结构及作业原理
图片尺寸690x517
谈旋风除尘器尺寸关联与阻力计算
图片尺寸893x370
旋风除尘器特点注意事项尺寸及压力损失
图片尺寸720x520
旋风除尘器的设计结构是由进气管,排气管,圆筒体,圆锥体和灰斗组成
图片尺寸536x657
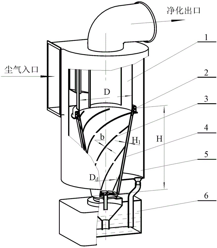
cn106238231a_一种双锥筒旋风除尘装置有效
图片尺寸876x1000
> 旋风除尘器的工作原理及分类标准(附图纸)旋风除尘器结构简单,紧凑
图片尺寸893x549
工业车间除尘"神器"之旋风除尘器
图片尺寸384x339
宏大旋风除尘器,除尘设备,多筒旋风除尘器-clt/a型旋风除尘器(单筒,双
图片尺寸495x768
其实质是将两种规格的旋风除尘器套装在一个空间内,形成串联结构.
图片尺寸640x601
背景技术:旋风除尘器,是气流在筒体内旋转一圈以上且无二次风加入的
图片尺寸869x1000
旋风除尘器标准图旋风除尘器的尺寸参数
图片尺寸586x647
三,旋风除尘塔结构:旋风除尘设备工作原理含尘气流由进口沿切线方向
图片尺寸489x560
多管陶瓷旋风除尘器 多管陶瓷旋风除尘.
图片尺寸600x416
扩散式旋风除尘器结构图
图片尺寸600x398
旋风除尘器
图片尺寸724x355
该种除尘器,是由旋风风筒,集灰斗和集风帽三部分组成,按筒体个数区分
图片尺寸960x1920