旗台施工图

旗台
图片尺寸1013x765
某旗台施工图
图片尺寸891x634
单杆国旗台施工图
图片尺寸560x401
旗台做法大样图.docx 2页
图片尺寸1089x770
旗台做法大样图doc
图片尺寸920x651
某旗杆cad施工图设计-图一本资料为:某旗杆cad施工图设计,包括旗台
图片尺寸610x861
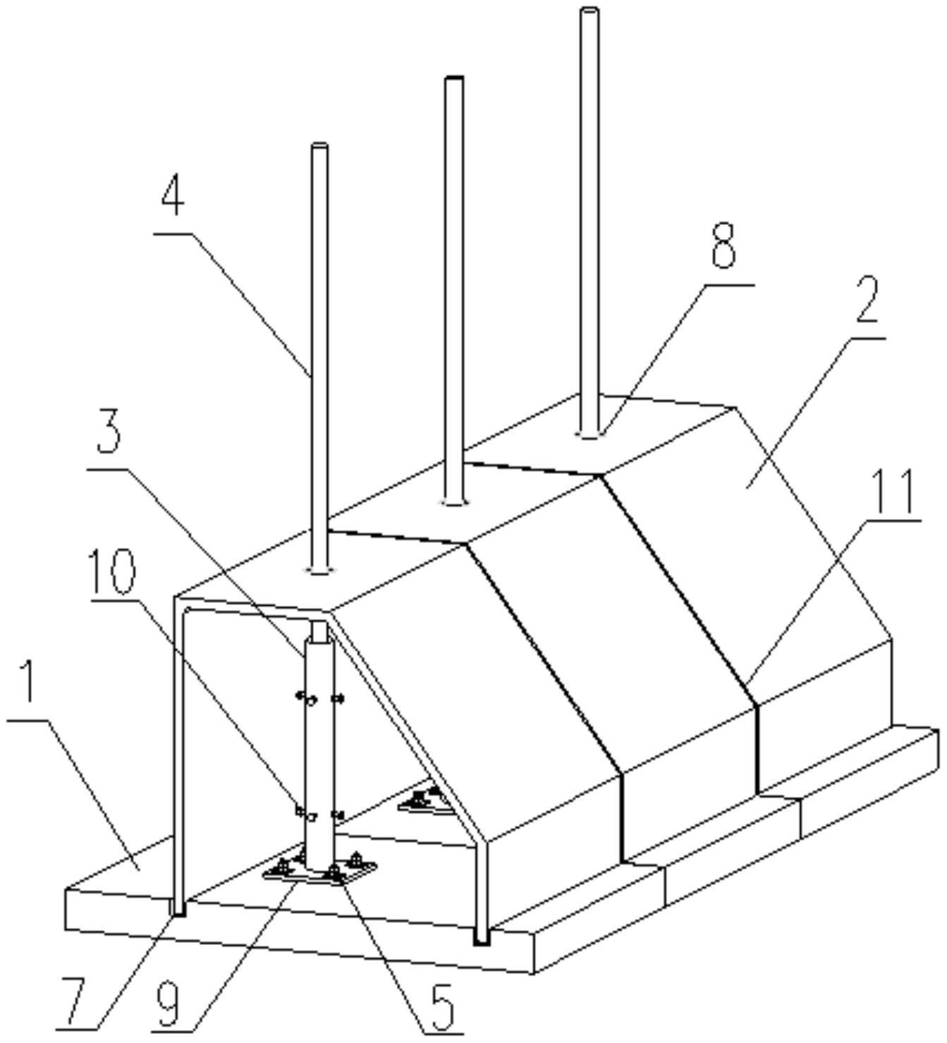
新型属于建筑施工用工具,具体涉及一种用于临时项目部的钢结构旗台
图片尺寸912x1000
旗杆升旗台cad做法施工图详图原创
图片尺寸463x470
升旗台设计图旗杆旗台底座栏杆cad图纸栏杆围栏广场平面图施工图
图片尺寸750x750
建筑前广场处设立旗杆旗台结构专业设计施工图
图片尺寸610x861
三杆式旗台cad设计图纸
图片尺寸818x488
旗台施工图详图
图片尺寸548x436
旗台详细施工图节点施工图
图片尺寸610x861
旗台大样图
图片尺寸692x484
亳州市国旗杆基础制作阜阳旗杆旗台施工厂家
图片尺寸1654x1917
某旗台设计cad 建筑施工详图
图片尺寸610x432
旗台施工图
图片尺寸716x381![旗杆旗台cad施工详图5套[原创]](https://i.ecywang.com/upload/1/img2.baidu.com/it/u=2009347826,3928028532&fm=253&fmt=auto&app=138&f=JPG?w=500&h=357)
旗杆旗台cad施工详图5套[原创]
图片尺寸698x498
旗台施工cad布置参考详图
图片尺寸610x432
一种可重复利用的轻型装配式旗台
图片尺寸1343x1479