普天单向器

10101010021 - 产品详情 - 玉环普天单向器有限公司
图片尺寸750x600
天津普天单向器有限公司
图片尺寸4032x3024
「天津普天单向器有限公司招聘」-智联招聘
图片尺寸800x1067
「天津普天单向器有限公司招聘」-智联招聘
图片尺寸800x1067
10203010151 - 产品详情 - 玉环普天单向器有限公司
图片尺寸750x600
10101010020 - 产品详情 - 玉环普天单向器有限公司
图片尺寸750x600
天津普天单向器有限公司
图片尺寸3024x4032
「天津普天单向器有限公司招聘」-智联招聘
图片尺寸1067x800
10301010514 - 产品详情 - 玉环普天单向器有限公司
图片尺寸750x600
丽水市昌盛单向器有限公司
图片尺寸695x642
欢聚在平阳海栖是我人生历史上意义的一次盛会
图片尺寸2000x2667
玉环普天单向器有限公司专利申请_专利号cn201010562813.
图片尺寸695x1000
cn101979173a_液压校直装置有效
图片尺寸1693x2434
10101010041 - 产品详情 - 玉环普天单向器有限公司
图片尺寸750x600
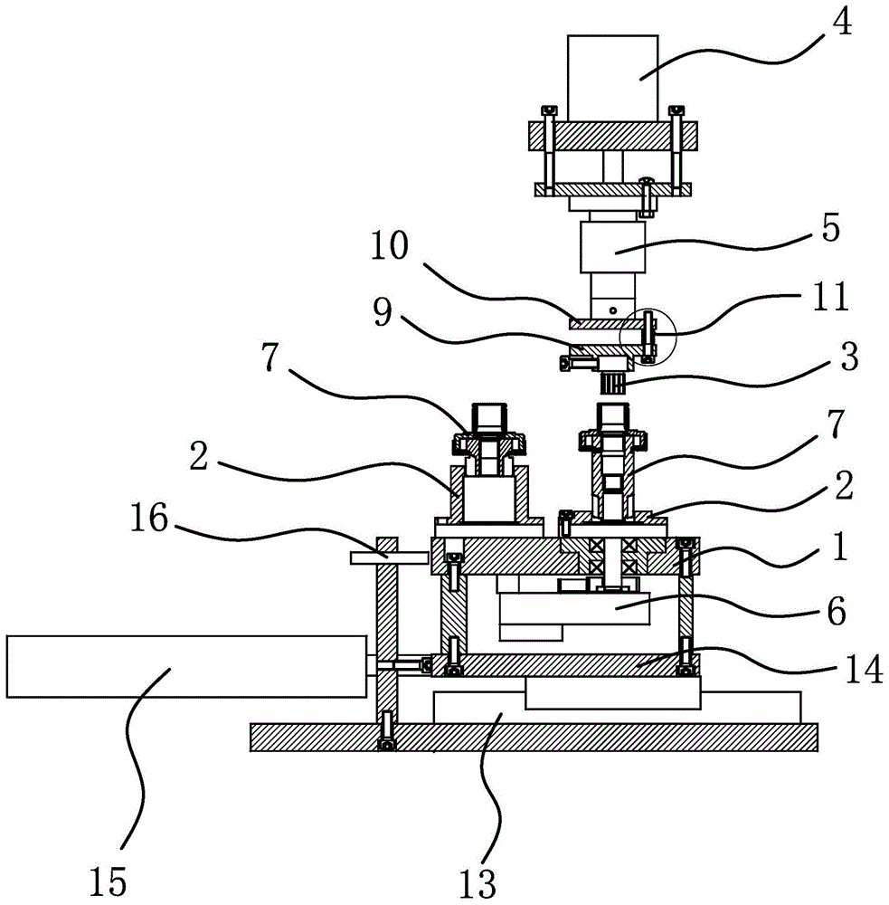
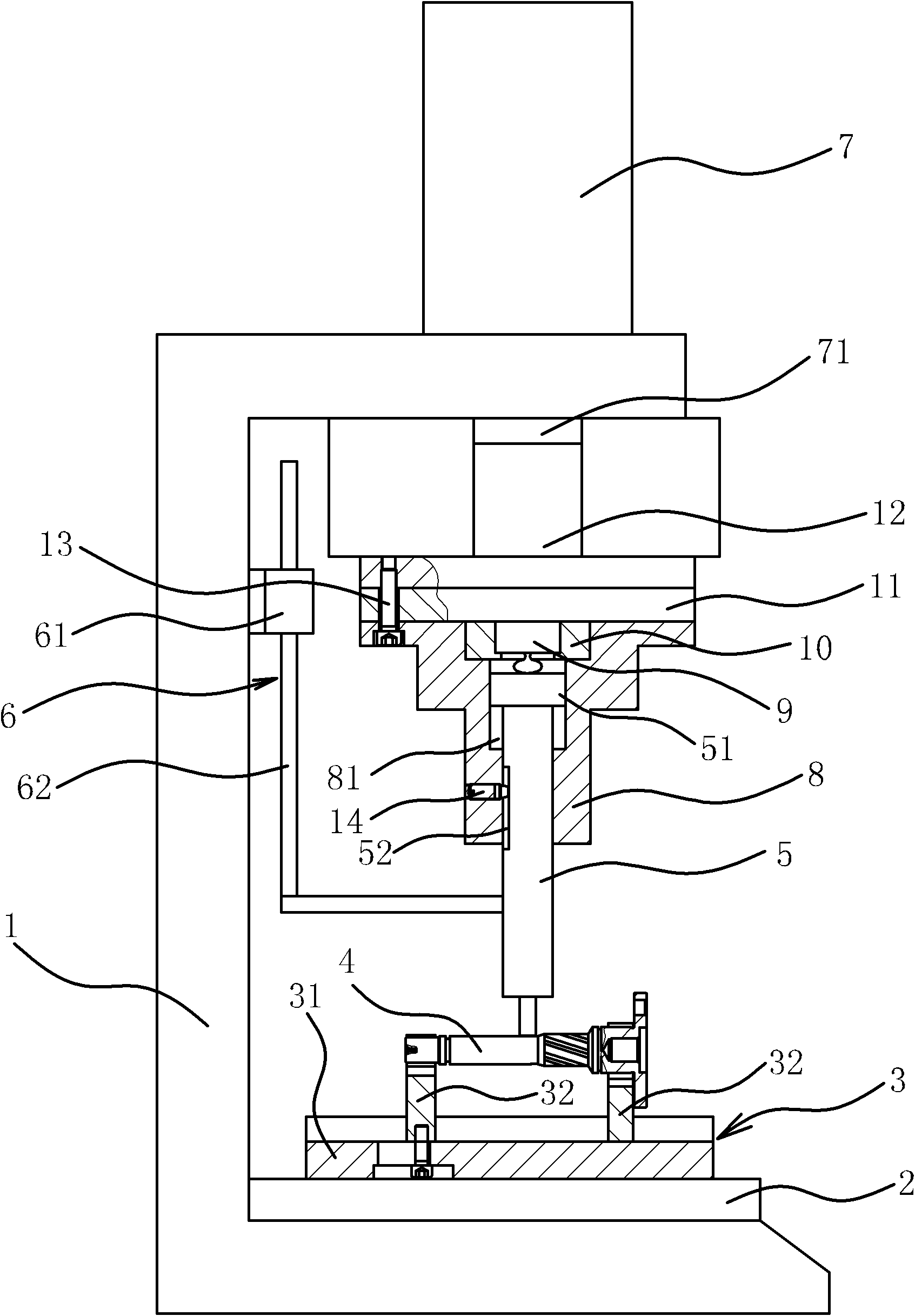
cn110296780a_单向器超越扭矩检测装置在审
图片尺寸983x1000
玉环市日丰阀门铜止回阀方体铜止回阀4分—1寸大阀门
图片尺寸750x750
10101020082 - 产品详情 - 玉环普天单向器有限公司
图片尺寸750x600
玉环普天单向器有限公司专利申请_专利号cn200820084147.
图片尺寸1632x1613
产品信息
图片尺寸800x800
供应产品
图片尺寸411x600