暖水瓶结构

用了40年的热水瓶一定是个有故事的热水瓶
图片尺寸292x594
小小的暖水瓶是怎样保温的?其原理利用了多种传热手段
图片尺寸513x642
杜瓦瓶暖水瓶
图片尺寸340x371
电热水壶的结构与工作原理 .pdf
图片尺寸792x1120
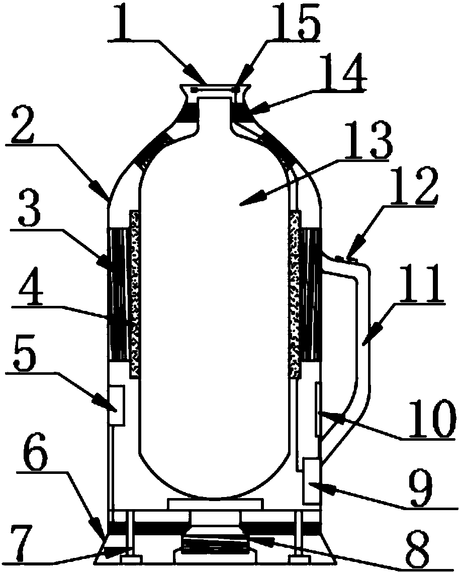
一种可控暖水瓶制造技术
图片尺寸802x1000
象印cwlf-r30型气压热水瓶说明书
图片尺寸904x1280
电热水壶的结构与工作原理相关知识
图片尺寸920x1302
寧不凡陶瓷電熱水壺燒水壺自動上水斷電茶具煮茶壺隨手泡養生壺
图片尺寸790x487
由于在家庭中保温瓶主要用于热水保温,故又称热水瓶.
图片尺寸400x302
这个液体绝对不可小觑!-采暖工程-筑龙暖通空调论坛
图片尺寸1000x636
一种不再漏水的暖水瓶
图片尺寸430x557
电热水壶的结构与工作原理
图片尺寸500x533
龙的电热水壶ld-sh15c
图片尺寸807x760
和热水瓶一样,不锈钢保温杯子也是内外两层结构,中间是真空,热只能
图片尺寸1274x754
象印cwpf-b30a型气压热水瓶说明书
图片尺寸904x1280
cn2067536u_握力式汽压暖水瓶失效
图片尺寸800x1000
2,电热水壶结构
图片尺寸1080x810
歌林pj-j40m型电动热水瓶使用说明书
图片尺寸921x1280
cn206403652u_一种可控暖水瓶失效
图片尺寸913x1137
cn2055349u_单压式气压保温瓶失效
图片尺寸1600x2281