曲柄增力机构

自锁与增力机构ppt 自锁与增力机构 离心式增力 pga370s/423 曲柄连杆
图片尺寸1080x810
的行程可调的多杆增力传动机构及其调整方法,包括驱动电机,双曲柄机构
图片尺寸371x606
一个高倍增力机构中的困惑
图片尺寸840x482
曲柄传动机构
图片尺寸641x360
汽车曲柄连杆机构修车零部件认识
图片尺寸640x373
【说车】发动机两大机构之曲柄连杆机构
图片尺寸674x528
机构2——双曲柄机构
图片尺寸564x423
气缸增压机构
图片尺寸820x604
一种曲柄滑块变向增力成形装置
图片尺寸1816x1639
图8 基于气动肌腱与对称性铰杆二次增力机构的气动夹具工作原理:如图8
图片尺寸510x592
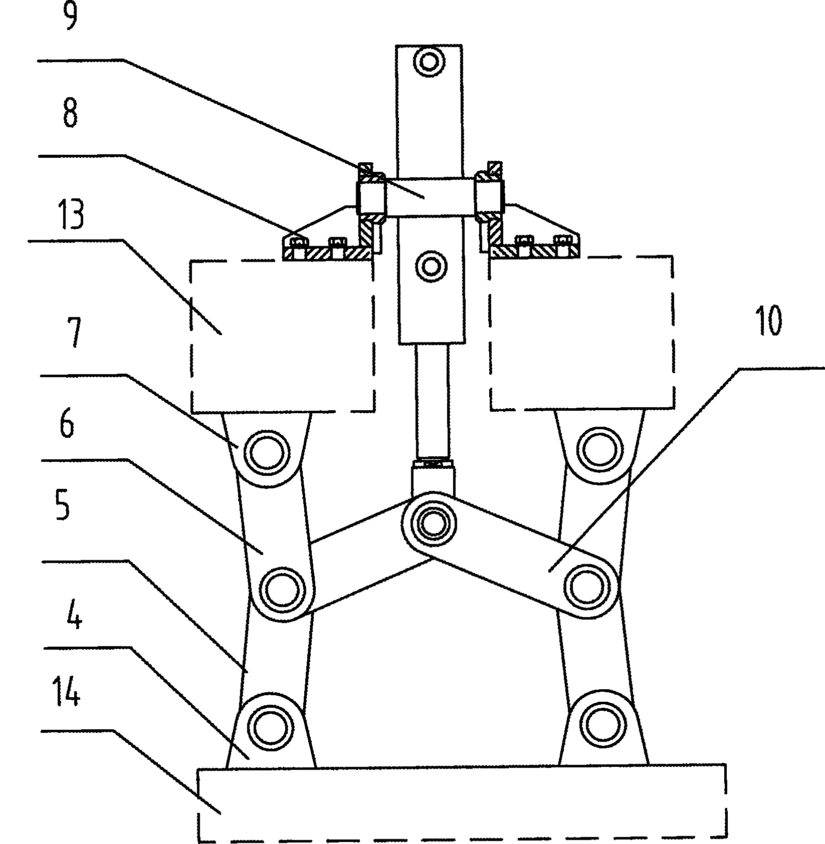
一种曲臂连杆增力机构的制作方法
图片尺寸1000x945
包装机增力机构组成图
图片尺寸270x385
小万告诉你汽车曲柄连杆机构的作用_搜狐汽车_搜狐网
图片尺寸1728x1080
该增力机包括沿力传递方向依次连接的电动机,减速器,曲柄,连接杆,杠杆
图片尺寸1745x1547
轻型阀门气动执行机构
图片尺寸384x632
气缸加连杆的增力机构非标机械设计
图片尺寸1254x836
气动杠杆增力机构图纸合集的封面图
图片尺寸285x214
本发明公开了一种立缸式组合增力装置,属制动机构.
图片尺寸1646x1685
p>机械中载荷与驱动力的比值,它表征机械增力的程度. /p>
图片尺寸165x300
319曲柄与肘节接合six-bar slider-crank power hammer mechanism
图片尺寸1280x720