曲轴平衡块设计

柴油机曲轴平衡块-爱企查
图片尺寸1088x1066
曲轴平衡块示意图
图片尺寸640x400
一种动态调节式曲轴平衡块结构-爱企查
图片尺寸800x288
一种曲轴平衡块与活塞防干涉检测装置-爱企查
图片尺寸1281x1412
一种减重型曲轴平衡块的制作方法
图片尺寸508x215
cn101660586a_曲轴的平衡重系统失效
图片尺寸1646x1193
05 main group: 发动机 diagram: 曲轴 remark: 平衡轴配重块 moell
图片尺寸450x545
一种用于曲轴平衡块加工过程的夹具制造技术
图片尺寸1000x470
一种具有五块平衡块的三缸发动机曲轴-爱企查
图片尺寸1569x906
交错式的曲轴设计让ak550得以省去拖重的平衡轴,动力能够完全释放
图片尺寸1200x675
一种三缸发动机曲轴平衡装置及汽车的制作方法
图片尺寸1000x780
1楼 请教专家:(如图)这四块部件名称到底是"曲轴臂"还是"平衡块
图片尺寸937x588
一种曲轴平衡结构的制作方法
图片尺寸1000x582
四缸发动机曲轴结构3d图纸solidworks设计
图片尺寸601x499
曲轴3d模型下载proe设计
图片尺寸558x558
一种高速机曲轴平衡装置-爱企查
图片尺寸430x271
发动机曲轴 曲轴设计模型是发动机中最重要的部件.
图片尺寸820x504
曲轴制造工艺大揭秘,看着简单,没点工匠精神真造不出来!
图片尺寸560x248
求柴油机曲轴cad图纸,如下图,903870049@qq.com,发给我后加50分
图片尺寸923x619
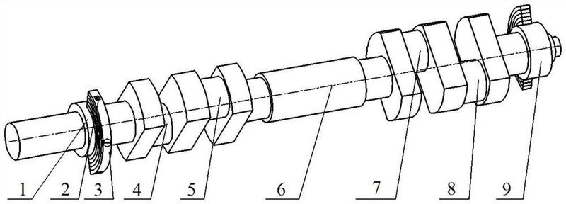
后端部以及依次固定设在前端部与后端部之间的第一主轴颈,第一平衡块
图片尺寸1752x1296