曳引机结构图

现代电梯主要由曳引机(绞车),导向系统,轿厢,门系统,重量平衡系统
图片尺寸640x476
广东威得利电梯有限公司yj系列曳引机使用维
图片尺寸1024x1448
cn101157429a_单滚筒双绳曳引机失效
图片尺寸2858x1848
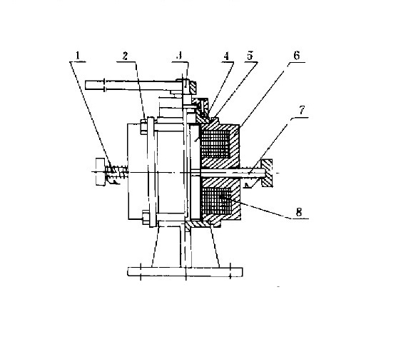
永磁同步无齿曳引机的结构示意图三,永磁同步无齿曳引机控制系统
图片尺寸445x271
变频器将程序指令转化为合适频率及大小的电压信号,驱动曳引机卷动
图片尺寸589x352
桥式结构电梯曳引机
图片尺寸1949x1659
mdd系列无齿轮曳引机410
图片尺寸850x1145
一种制动系统高效响应曳引机的制作方法
图片尺寸1000x873
通力电梯曳引机ppt
图片尺寸1080x810
cn202643054u_高性能电梯曳引机失效
图片尺寸954x1000
一种永磁同步曳引机-爱企查
图片尺寸1410x1840
cn1926052b_电梯用曳引机有效
图片尺寸1695x2682
小型永磁同步无齿轮曳引机
图片尺寸2524x1428
p>电梯曳引机是电梯的动力设备,又称电梯主机.
图片尺寸555x479
通力电梯曳引机
图片尺寸960x720
薄型永磁同步无齿轮曳引机-爱企查
图片尺寸1221x1670
双绝缘节能无刷无齿轮同步曳引机
图片尺寸800x823
轻便型电梯提升机构曳引机的方案设计(5)_毕业论文
图片尺寸418x506
的无齿轮永磁同步电梯曳引机(以下简称曳引机),包括内转子结构(wyt-y
图片尺寸557x410
cn212559034u_一种无齿轮永磁同步超重载的曳引机有效
图片尺寸1537x1428