木工s形怎么画

木工师傅画s型怎么样画才标准s形
图片尺寸304x337
s型轮廓简笔画
图片尺寸500x375
cad圆形中间的s形是怎么画出来的
图片尺寸450x263
木工装修图册每天更新中#木工异形画法
图片尺寸1080x1920
木工是怎么看图纸的
图片尺寸753x1000
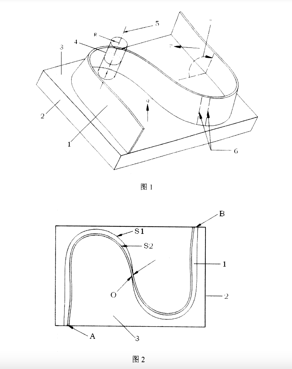
综合检测数控铣床精度的"s"形检测试件及其检测方法
图片尺寸1756x1265
木工图册.# s教程
图片尺寸1080x2332
s形
图片尺寸800x450
五轴联动机床好不好?中国"s"形试件成为国际判断标准
图片尺寸462x232
木工行业集老式s中伐木工人和木工矢量标签的矢量集照片
图片尺寸300x300
多项选择
图片尺寸280x217
flash线条工具怎么画s型的线条?
图片尺寸601x408
五年级美术课堂作业示范画:学学构图(s形构图)
图片尺寸1728x1080
最近考驾照,想自己画一个s形弯道,求方法.和具体参数
图片尺寸753x411
一种多维偏转的豌豆形s弯喷管结构
图片尺寸443x283
创意儿童画s形构图预习
图片尺寸640x932
木工s形曲线怎么画
图片尺寸500x360
带s的简笔画
图片尺寸500x708
综合检测数控铣床精度的"s"形检测试件及其检测方法
图片尺寸966x1220
country love crafts 字母 s 木工空白,浅棕色
图片尺寸1432x1500