机械抓手结构

利用三维绘图软件进行实体建模,并对所设计的抓手结构进行受力分析
图片尺寸400x285
机械抓手及搬运设备的制作方法
图片尺寸952x1000
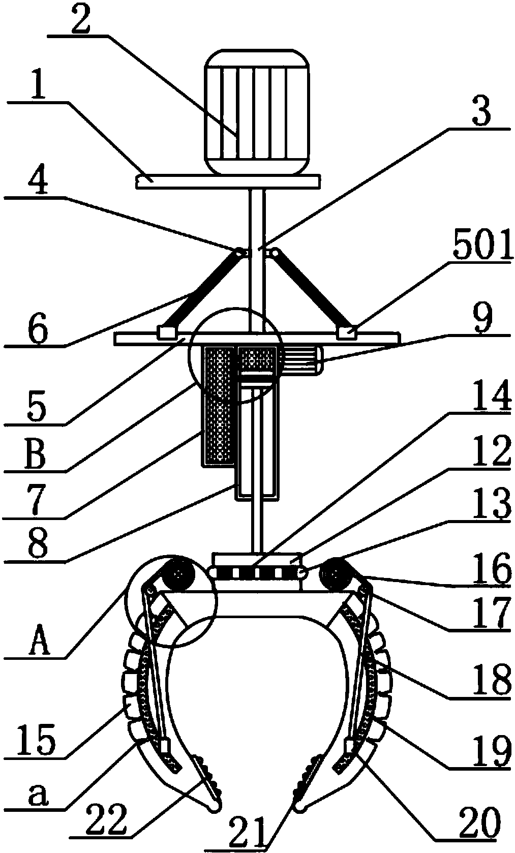
一种工业机器人用抓手
图片尺寸1288x1705
一种新型工业机器人抓手的制作方法与工艺
图片尺寸996x1000
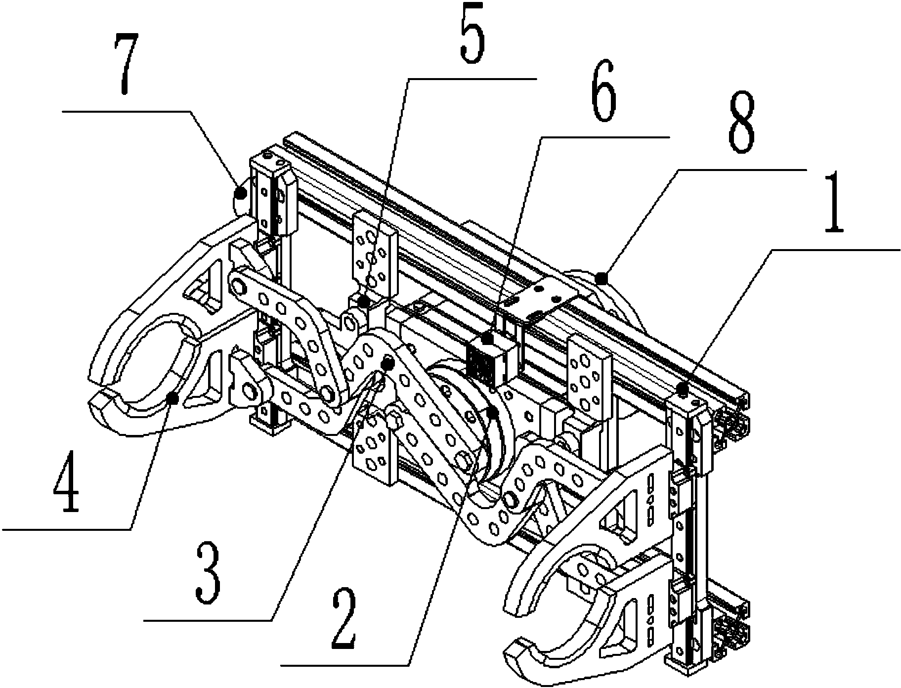
一种工程机械抓手,主要由两爪结构体和三爪结构体组成,两爪结构体和三
图片尺寸1282x1355
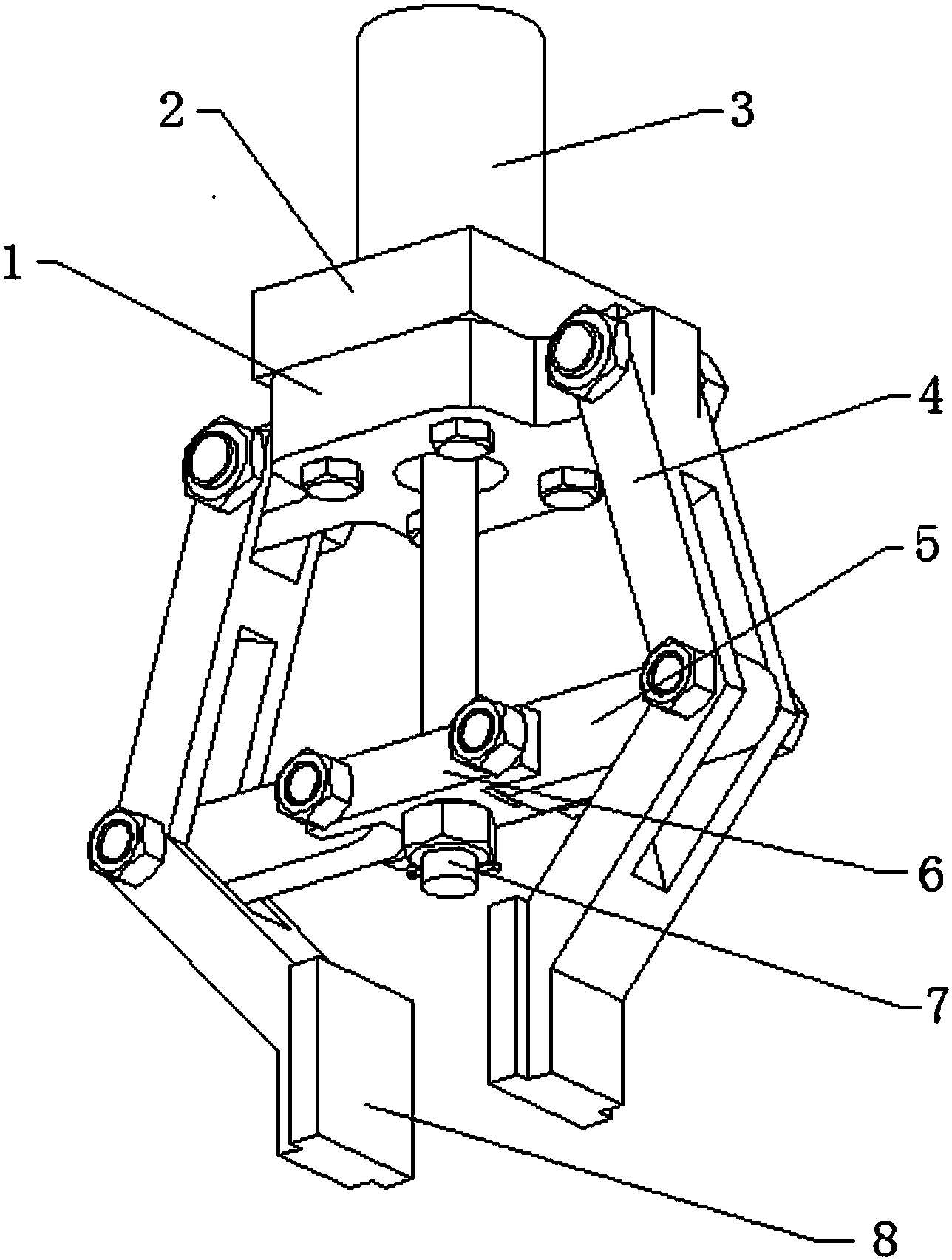
所述杠杆结构支点处转动连接有机械抓手,所述下安装板上表面的中心
图片尺寸1000x878
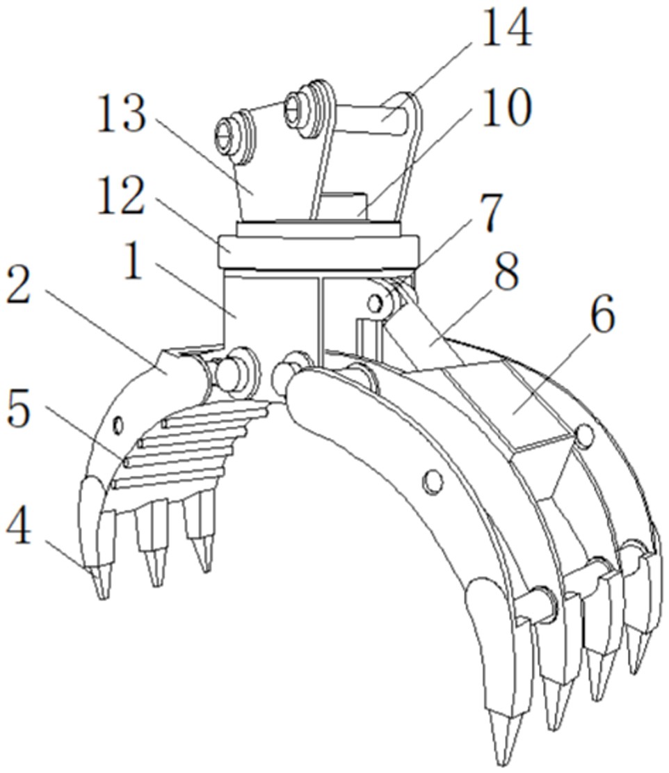
一种机械手抓取装置的制作方法
图片尺寸1000x766
一种耐高温机械抓手的制作方法
图片尺寸1000x836
cn2761379y_消防抢险用液压抓手失效
图片尺寸800x732
轴类零件外圆磨床机械手数控磨床上下料机械手机械手厂家价格
图片尺寸568x380
四爪抓手
图片尺寸820x1083
机械抓手示意图
图片尺寸481x684
一种便于取货的机械抓手
图片尺寸1013x1678
cn107838938a_一种机器人抓手在审
图片尺寸1823x1392
一种抓取机械手的制作方法
图片尺寸1000x773
一种油漆桶机械抓手的制作方法
图片尺寸1000x765
一种新型的机械抓手
图片尺寸1000x941
solidworks设计的机器人抓手,内部结构非常直观
图片尺寸1280x720
一种抓取牢固防滑落的六自由度机械手
图片尺寸1481x1361
cn210312497u_一种抓钢机抓手结构有效
图片尺寸962x1111