李开明飞北京

湖北日报网讯(全媒体记者吴擒虎,通信员杜立东,李开明)10月23日,宜昌
图片尺寸1600x1066
总经理助理 三,唐经志 国投太平洋投资管理(北京)有限公司项目经理 四
图片尺寸1080x1440
破败不堪,朝向上海,墓碑上方的八个字令人深思_蒋介石_李开明_灵柩
图片尺寸750x1004
2021年广东数字乡村建设与县域电商发展论坛在广州成功举行
图片尺寸513x360
破败不堪,朝向上海,墓碑上方的八个字令人深思_蒋介石_李开明_灵柩
图片尺寸1038x1319
李开明
图片尺寸382x478
破败不堪,朝向上海,墓碑上方的八个字令人深思_蒋介石_李开明_灵柩
图片尺寸800x1008
杜月笙死前做了一件事:撕毁自己手上所有的欠条,究其原因很简单
图片尺寸640x749![191 条结果 作者:[美]奥巴马 著;[美]罗格克 编;白敬萱,李开明 译](https://i.ecywang.com/upload/1/img0.baidu.com/it/u=2359206364,157935830&fm=253&fmt=auto&app=138&f=JPEG?w=380&h=500)
191 条结果 作者:[美]奥巴马 著;[美]罗格克 编;白敬萱,李开明 译
图片尺寸456x600
李开明展示自己编写的《汉字入门——以津巴布韦人角度学汉字》一书
图片尺寸633x472
本网讯(通讯员 李开明 邱建新)8月7日,远安县嫘祖镇的徐先生受北京市
图片尺寸600x433
协会会长李开明为本次公益活动作题为《助力青年才俊 演绎双创精彩》
图片尺寸553x348
43 2021-08-10上书 加入购物车 收藏 正版新书 李开明
图片尺寸600x600
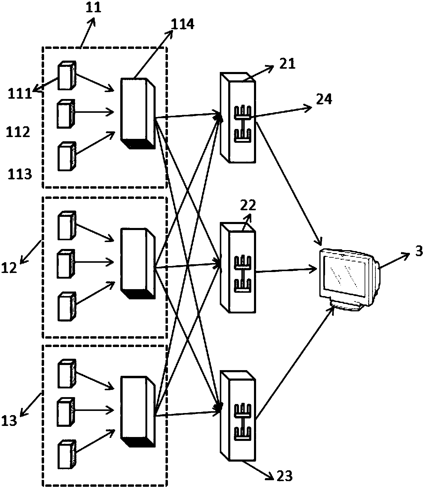
cn108985124a_一种基于射频识别技术的电子数据传输系统及方法在审
图片尺寸1414x1627
当地村干部,村民和民警徒手实施救援李开明摄
图片尺寸540x358
湖北省荆门市沙洋县公安局通报,经过近半年时间侦查,专班民警辗转北京
图片尺寸540x359
时间: 2008-09 印刷时间: 2008-09 装帧: 精装 蓝生文化 北京市昌平区
图片尺寸499x600![快速发货售后保障 作者[美]奥巴马 著;[美]罗格克 编;白敬萱,李开明](https://i.ecywang.com/upload/1/img0.baidu.com/it/u=1198811764,3376191132&fm=253&fmt=auto&app=138&f=JPEG?w=500&h=375)
快速发货售后保障 作者[美]奥巴马 著;[美]罗格克 编;白敬萱,李开明
图片尺寸1016x761
《农村生活源水污染风险管理》(李开明 著)【简介_书评_在线阅读】
图片尺寸350x350![快速发货售后保障 作者[美]奥巴马 著;[美]罗格克 编;白敬萱,李开明](https://i.ecywang.com/upload/1/img2.baidu.com/it/u=3522440654,4092704292&fm=253&fmt=auto&app=138&f=JPEG?w=500&h=500)
快速发货售后保障 作者[美]奥巴马 著;[美]罗格克 编;白敬萱,李开明
图片尺寸1200x1200