梁托结构

一种包括有梁托连接件的轻钢结构的制作方法
图片尺寸821x1000
1)抬梁式架构图1 抬梁式木建筑:柱撑梁,梁托檩2)穿斗式架构图2 穿斗式
图片尺寸1415x784
一种装配式建筑用楼层梁托的制作方法
图片尺寸443x393![[分享]【结构设计的请收好】万科对新抗震规范的解读](https://i.ecywang.com/upload/1/img1.baidu.com/it/u=3827296721,2566820934&fm=253&fmt=auto&app=138&f=JPEG?w=500&h=514)
[分享]【结构设计的请收好】万科对新抗震规范的解读
图片尺寸517x531
本实用新型轻钢结构房屋建设技术领域,具体涉及一种轻钢龙骨梁托.
图片尺寸1000x778
着上部楼层重量的墙体,在工程图上为黑色墙体,打掉会破坏整个建筑结构
图片尺寸443x367![[分享]结构钢筋89种构件图解一文搞定,建议收藏!结构钢筋89种构件图解](https://i.ecywang.com/upload/1/img0.baidu.com/it/u=2689168575,2335534862&fm=253&fmt=auto&app=138&f=JPEG?w=888&h=500)
[分享]结构钢筋89种构件图解一文搞定,建议收藏!结构钢筋89种构件图解
图片尺寸1080x608
24在线询价详细介绍eps梁托厂家grc装饰线条,又称梁垫,用在混合结构中
图片尺寸570x442
com 东阳木雕中式仿古园林寺庙装修斗拱梁托门楼七踩中式印象-淘宝网
图片尺寸658x262
梁柱运用了中国传统的榫卯结构,不费一钉
图片尺寸600x400
1)抬梁式架构图1 抬梁式木建筑:柱撑梁,梁托檩2)穿斗式架构图2 穿斗式
图片尺寸1167x715
装修斗拱梁托门楼七踩中式印象-淘宝网14喜欢梁架结构豹脸同采自item
图片尺寸658x527
抗风拉件飓风卡件防风扣件旋转木屋架结构五金属连接配件rt7a
图片尺寸620x413
左侧主楼剪力墙结构筏板基础900厚,右侧附楼两层框架结构独立基础
图片尺寸478x412
中式木结构 梁构件 建筑构件 梁托3d模型
图片尺寸400x400
家居梁托模具牛腿水泥粱托现浇别墅檐托模型外墙梁拖屋檐线条模板a款
图片尺寸750x919
欧式梁托角托
图片尺寸1024x576
房屋的安全,从一个连接件开始!_梁托
图片尺寸580x340
梁托模具罗马柱檐托预制建筑模板水泥现浇欧式别墅模型abs塑钢材质b款
图片尺寸781x587
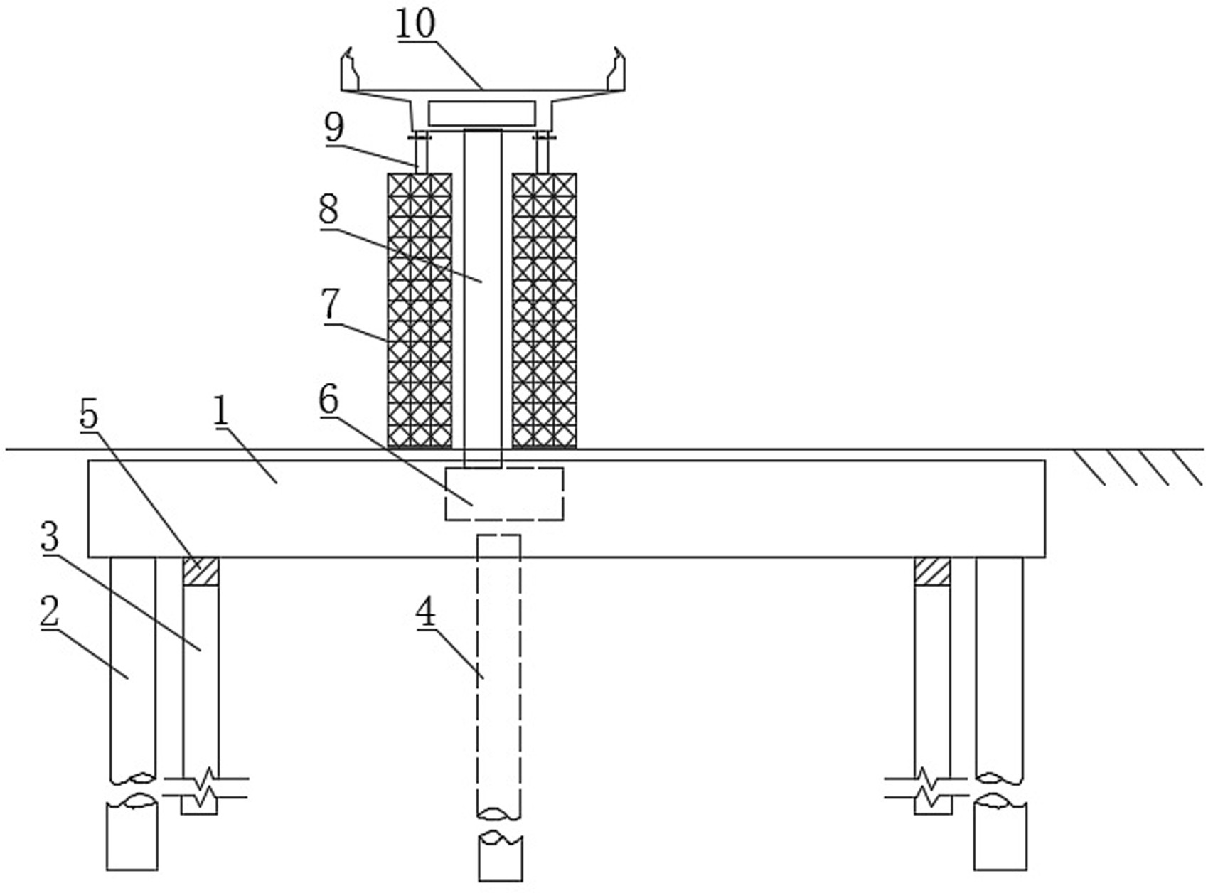
大体积预应力梁托换结构及用该结构进行桩基托换的方法-爱企查
图片尺寸1706x1256