梁的简笔画

梁怎么读(梁怎么读组词)
图片尺寸800x600
梁柱的简笔画
图片尺寸380x536
梁简笔画集
图片尺寸500x1337
九架梁,七架梁,五架梁
图片尺寸640x281
2020110832226
图片尺寸400x404
基础梁怎么画
图片尺寸768x486
农村的房梁简笔画
图片尺寸667x500
支撑梁及桥墩拆除步骤1
图片尺寸588x394
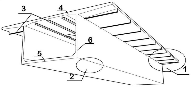
一种型钢加劲骨架的uhpc薄壁箱梁结构及施工方法
图片尺寸800x367
建筑设计师都该懂的古建筑结构——"梁"_陕西毅和建筑工程有限公司
图片尺寸640x508
模板工程——梁
图片尺寸476x647
汽车车身门槛梁结构及其车辆的制作方法
图片尺寸381x444
梁凯简笔画
图片尺寸700x400
斜拉桥简笔画(哪一种桥梁跨越能力最大?)_浮光掠影知识网
图片尺寸1078x580
金属梁图标元素的收缩图标
图片尺寸1100x1100
横梁简笔画
图片尺寸350x200
楼梯简笔画 楼梯简笔画儿童画
图片尺寸407x500
楼梯简笔画 楼梯简笔画儿童画
图片尺寸500x280
十七史百将传,梁刘鄩(五代)
图片尺寸460x741
迪拜建筑彩色简笔画一种预制梁式楼梯及其专用模具的制作方法一种多用
图片尺寸564x500