梭子简笔画

一种装有挡条的梭子-爱企查
图片尺寸416x256
运动,在圆型织机上作连续圆周运动,中国在战国到汉代之际即已使用梭子
图片尺寸1000x912
竹篾做的缠线梭子
图片尺寸400x224
一种梭子的制作方法
图片尺寸1000x348
穿线梭子是一种使用穿线的装置
图片尺寸1200x379
一种塑料圆织机的梭子组件
图片尺寸1000x826
纺织织造皮革制品制作工具设备的制造及其制品技术处理方法
图片尺寸443x404
车用装饰灯(梭形)
图片尺寸1012x424
一种织布梭子
图片尺寸692x1000
一种织布梭子的制作方法
图片尺寸692x1000
梭子
图片尺寸736x406
梭子形简笔画示范
图片尺寸778x500
一种梭子的制作方法
图片尺寸1000x809
梭子形状简笔画
图片尺寸499x274
【品生活】为什么丝绸价格高却仍受众人追捧?真相大揭秘
图片尺寸640x449
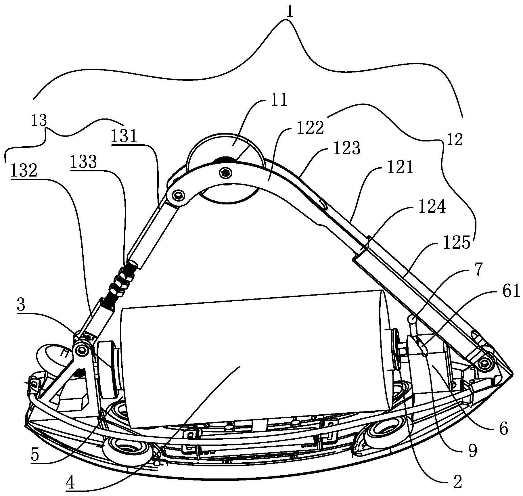
一种塑料圆织机的梭子-爱企查
图片尺寸1819x1725
cn101565873b_制网机用船型梭子有效
图片尺寸1737x1262
发信圈及其圆织机的梭子制造技术
图片尺寸1000x567
缝衣针简笔画
图片尺寸300x200
梭子形状简笔画
图片尺寸450x202