梳棉机安装图

cfa203h 型高产梳棉机
图片尺寸550x736
梳棉机
图片尺寸509x416
梳棉- 纺机导购 - 中国纺机网 ttmn
图片尺寸498x429
一种色纺纱纱样混开梳棉一体机的制作方法与工艺
图片尺寸501x286
一种新型双道夫梳棉机的制作方法
图片尺寸1000x591
纺织机械设备 针布包卷机 金属针布包卷机 针布包卷器 梳棉机辅机
图片尺寸860x751
纤维梳理机,梳棉机,羊皮毛加工机
图片尺寸1500x900
技术| 梳棉机前后罩板如何安装及维修?点击了解_隔距_进行_mm
图片尺寸453x361
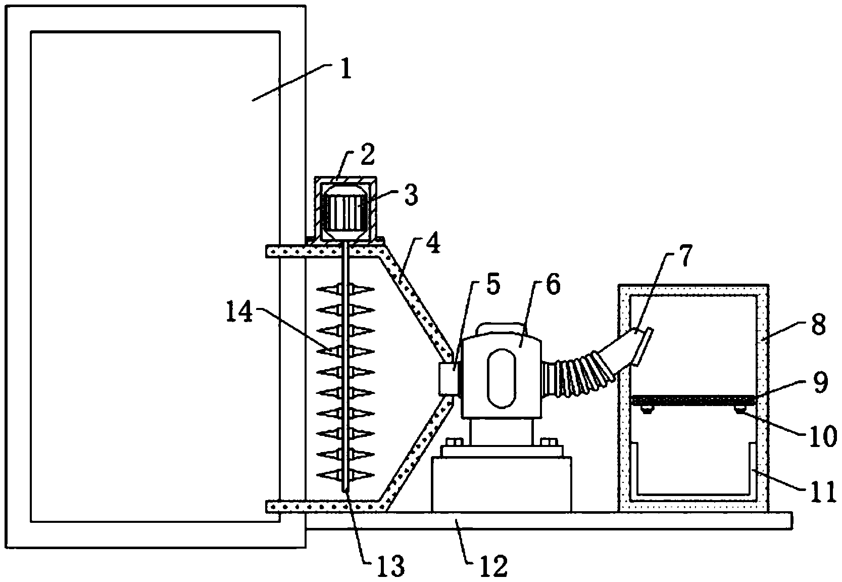
包括梳棉机本体和吸尘机,所述梳棉机本体的一侧外壁上开有安装口,且
图片尺寸1667x1151
所述原料输送组件,送棉梳棉组件,成品输送组件安装于所述机架,其特征
图片尺寸301x360
一种梳棉效率高的梳棉机的制作方法
图片尺寸1000x594
技术| 梳棉机前后罩板如何安装及维修?点击了解_隔距_进行_mm
图片尺寸469x389
梳棉机辅机 梳理机包针布的设备 纺机工具 安装平车工具厂家
图片尺寸800x800
梳棉机辅机 梳理机包针布的设备 纺机工具 安装平车工具厂家
图片尺寸800x800
郑纺机224bn二手梳棉机12台2010年
图片尺寸800x800
一种专用于梳棉机的供棉装置-爱企查
图片尺寸800x561
一种用于梳棉机的收集装置-爱企查
图片尺寸1979x2231
fa231梳棉机纺纱设备羊毛棉麻梳理加宽多种规格梳棉机弹棉花机器
图片尺寸800x800
且公开了一种梳棉均匀的梳棉机,包括底盒,所述底盒的内底壁上固定安装
图片尺寸526x439
梳棉机,全时域无差速箱自调匀整并条机jwf1318;采用整节安装技术的
图片尺寸660x495