植入式人工喉

人工喉
图片尺寸268x221
谈谈纤维喉镜对于需要做人工喉的患者有帮助
图片尺寸488x363
科学研究 - 东大研究生开发出佩戴式人工喉,可再现自然声音,2025年之
图片尺寸1300x731
气动人工喉
图片尺寸500x281
电子人工喉的核心是仿声带的震动,利用现代电子技术,最新的电子人工喉
图片尺寸1080x569
气动人工喉装置可以为患有癌症的患者带来更自然的声音
图片尺寸600x338
人工喉
图片尺寸220x216
厉害!唐都医院首创生物人工气管移植 解决世界移植难题(组图)
图片尺寸1334x890
人工喉
图片尺寸220x116
科学研究 - 东大研究生开发出佩戴式人工喉,可再现自然声音,2025年之
图片尺寸1299x1095
人工喉
图片尺寸220x178
新型人工喉xhkf-iii
图片尺寸2835x2835
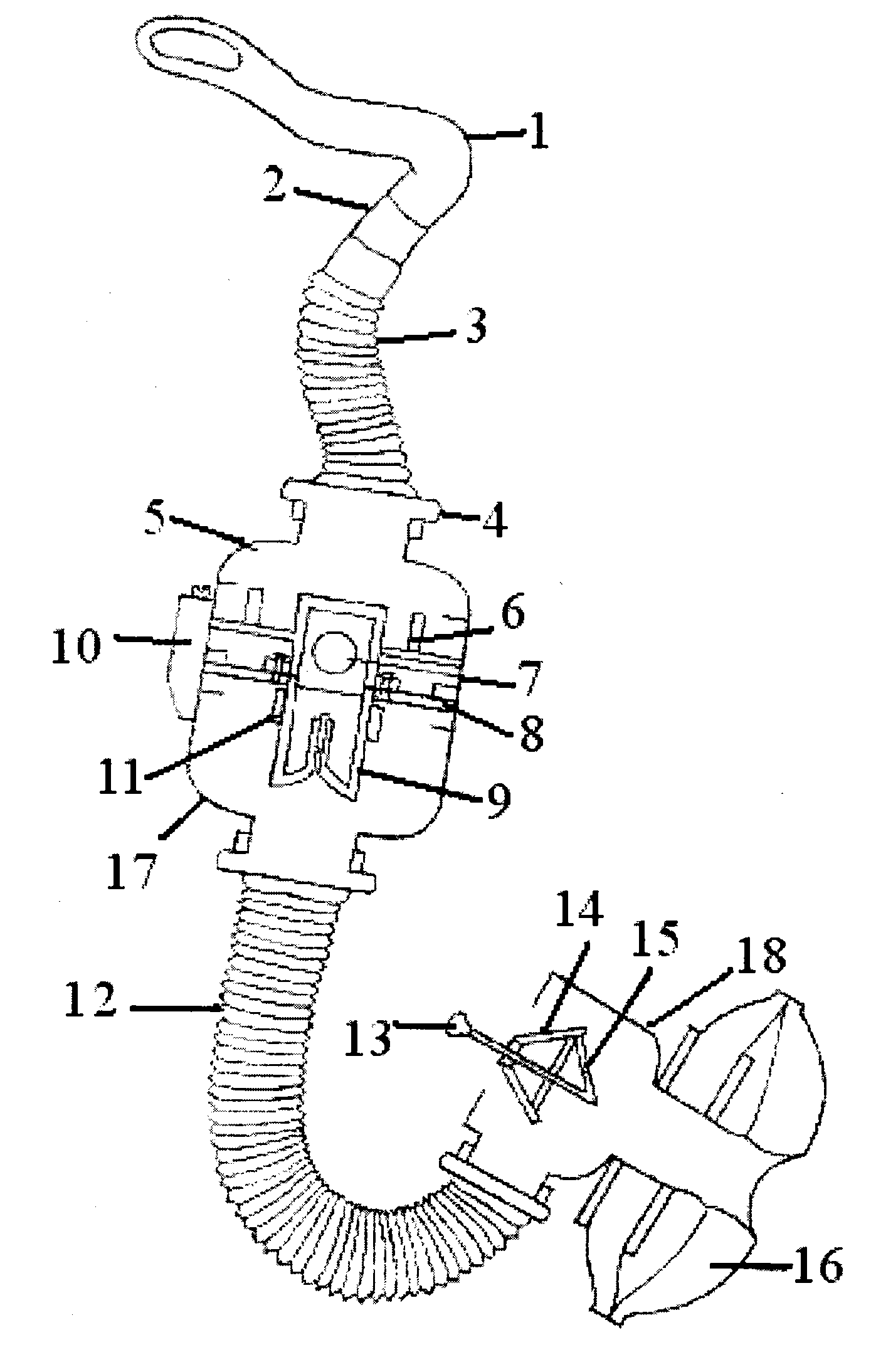
cn1240351c_植入式人工喉失效
图片尺寸1286x1417
世界首例!生物人工气管移植在中国西安手术成功
图片尺寸600x458
5月30日上午,耳科主任张朝梅团队为患者进行了单侧人工耳蜗植入,手术
图片尺寸1080x720
人工喉
图片尺寸1389x2188
西安患者成功移植生物人工气管终身不用服免疫制
图片尺寸900x669
喉罩置入(左手轻提患者下颌右手执笔式置入,使喉罩尖端处于食道入口处
图片尺寸1440x1080
div=0 崔鹏程教授解说生物人工气管移植手术的难度
图片尺寸550x422
助讲器发音器发声器希望电子发声器无喉人工喉全喉切除仿真声带半喉
图片尺寸990x1241