槽钢加强筋图示

15号日标槽钢150*75*6.5*10尺寸详情
图片尺寸640x640
中建型钢支吊架制作,安装施工交底卡|螺栓|钢板|通丝|槽钢_网易订阅
图片尺寸660x404
济宁钢结构用h型钢施工防腐 今日排名一览>
图片尺寸750x750
档案解密之中欧工字钢,槽钢
图片尺寸553x373
定制适用热镀锌工字钢镀锌h型钢工字h型钢国标厂家角槽钢低合金上海
图片尺寸790x888
装配式支吊架,的特点和适用范围
图片尺寸900x500
开拓者公司立式压缩垃圾中转站 垃圾收集站 采购地上
图片尺寸800x800
置华|装配式支吊架产品_截面_槽钢_运输
图片尺寸338x139
通风空调风管制作施工手册
图片尺寸700x139
槽钢q355dgb/t706-2016
图片尺寸600x738
yb/t 5048-1993 拖拉机大梁用槽钢
图片尺寸423x364
承台钢筋,这是加强筋吗?-服务新干线答疑解惑
图片尺寸1237x818
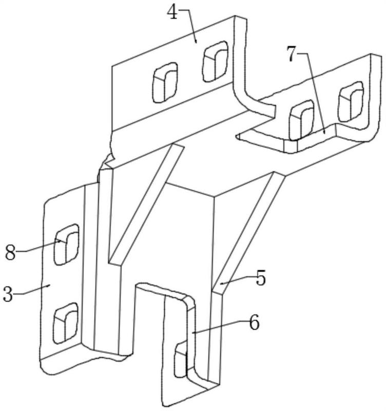
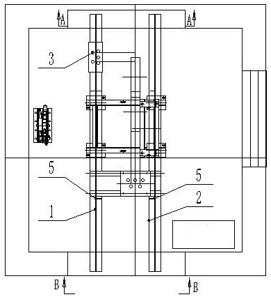
一种无对重槽钢的井道-爱企查
图片尺寸390x426
型钢组合,hilti加强筋槽钢,齿牙冷拉槽钢收藏
图片尺寸493x467
所述第一连接头以及第二连接头的连接处设有加强筋,且所述第一连接头
图片尺寸752x800
模面板δ=5mm钢板,纵横肋采用∠5角钢,桁架采用∠5角钢及[10槽钢焊接
图片尺寸563x342
梁底次楞和主楞区别
图片尺寸796x558
河北厂家定做货架网片 横梁式货架层网 底部加槽钢加方管加强筋
图片尺寸750x750
津西厂家直发q345b63c工字钢低合金工字钢
图片尺寸400x275
10号槽钢怎么画啊
图片尺寸477x355