模具吊模块

吊篮配重块模具技术专业产品质优
图片尺寸640x640
集成吊顶一次成型模具 现货供应 集成吊设备顶模具
图片尺寸350x350
厂家批发集成吊模具成型设备
图片尺寸650x650
塑胶注塑模具
图片尺寸450x315
成都电动葫芦模具吊架 模具维修吊模架 三吨吊模架尺寸
图片尺寸640x640
车床模具吊机车床模具吊机售价简易移动吊
图片尺寸960x960
模块模具
图片尺寸520x374
智能平衡吊模具组装精密仪器工件安装用
图片尺寸1080x1920
汽车模具零件部分的认识吊模块作用讲解
图片尺寸1080x810
吊装器磁力吊厂家直销_誉鼎起重自动化设备_起重_模具_吸盘_沪工
图片尺寸400x400
注塑机模具吊架定制,简易模具吊架,做模具吊架的厂家
图片尺寸850x1133
定制生产模具吊架 起重移动模具吊架 搬运装卸模具吊
图片尺寸850x1133
在泊头市兴达汽车模具生产车间,工人正在吊运模具. 受访者供图
图片尺寸1269x839
小伙在车间吊模具,老板看到吓一跳,直接罚款2000
图片尺寸750x422
一种可整体吊运的注塑模具-爱企查
图片尺寸792x800
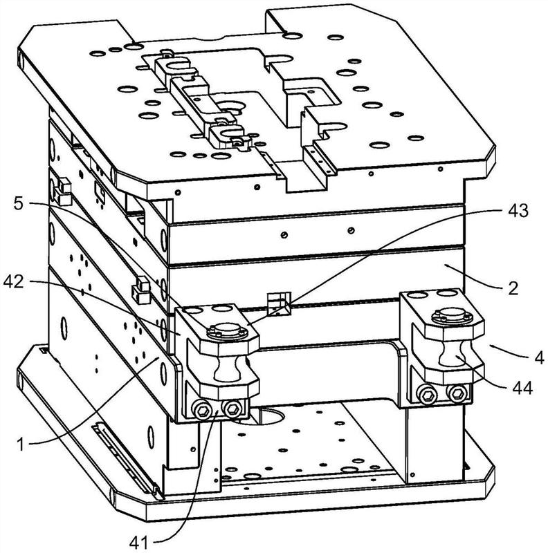
合理的结构设计,利于脱模和装模,定位准确,模具使用寿命长 2,部分模块
图片尺寸600x446
惠州吊模架子生产商三吨移动吊模架注塑模具厂行吊
图片尺寸758x758
钢板夹子吊钳钢板起重钳竖吊钳钢板吊钳油桶吊钳模具铁板吊装钩索
图片尺寸801x801
模具制造
图片尺寸2048x1536
1吨模具吊架,2吨模具吊架,3吨模具吊架规格厂家定制
图片尺寸850x1133