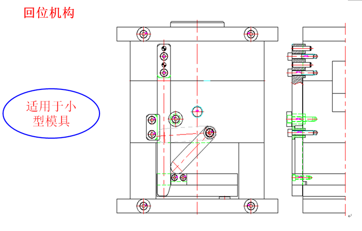
模具复位机构

这套汽车传感器支架精密模具如何设计?
图片尺寸640x410
手动夹臂复位机构 - catia机械设备 - 沐风图纸
图片尺寸782x735
监控摄像头模具 - 模具图纸 - 沐风网
图片尺寸633x688
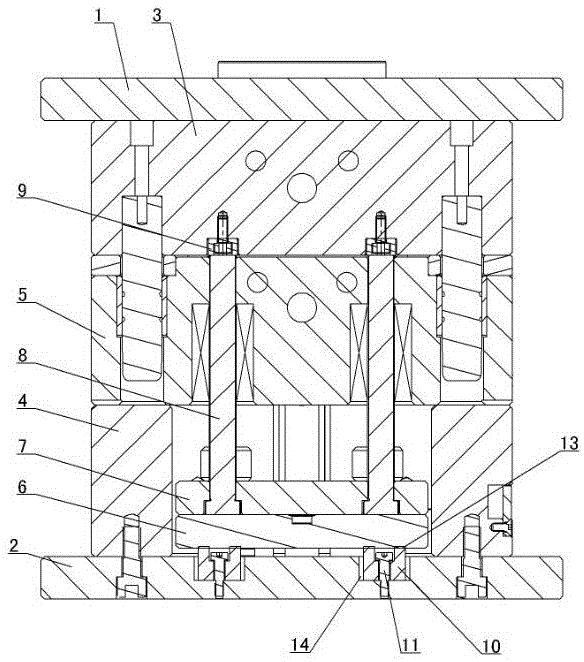
塑胶机壳强制复位机构模具 - 注塑模图纸 - 沐风网
图片尺寸779x687
ug模具设计中强复位的作用及运作原理_顶针
图片尺寸640x448
ug模具设计中强复位的作用及运作原理_顶针
图片尺寸640x517
两分钟看懂模具复位机构设计,收藏! - 知乎
图片尺寸720x460
工件压紧装置 - 包装机械图纸 - 沐风网
图片尺寸579x584
塑胶模具配件_复位机构erst-1-东莞市锦鸿塑胶五金模具配件有限公司
图片尺寸2146x1070
一种改进的模具强行复位机构专利_专利申请于2018-10-25_专利查询 -
图片尺寸1000x717
【开模师】塑胶模具配件复位机构zz6_大通精密模具零件工厂-开模师-20
图片尺寸800x569
模具顶杆强制复位机构,ko镶件固定类型及设计参数
图片尺寸640x360
模具设计新手必学技巧:模具顶杆强制复位机构,ko镶件固定类型及设计参
图片尺寸1560x1080
塑胶模(三板模.油缸抽.强复位结构) - 注塑模图纸 - 沐风网
图片尺寸525x565
注塑模具顶针板复位缓冲机构专利_专利申请于2019-01-22_专利查询 -
图片尺寸584x662
ug模具设计中强复位的作用及运作原理_顶针
图片尺寸640x410
一种改进的模具强行复位机构的制作方法
图片尺寸1000x718
天线共塑,行位先复位经典巧妙模具结构_产品
图片尺寸517x406
一种模具的先复位机构和具有该机构的模具的制作方法
图片尺寸999x1000
如何把电机出力轴转动一周360度? - 第2页 - 机械设计 - 机械社区 -
图片尺寸583x534