模具简笔画

一种热模锻用圆形模具模的制作方法
图片尺寸444x435
金属管材的热定型模具的制作方法
图片尺寸1000x970
松饼烘烤模具
图片尺寸610x382
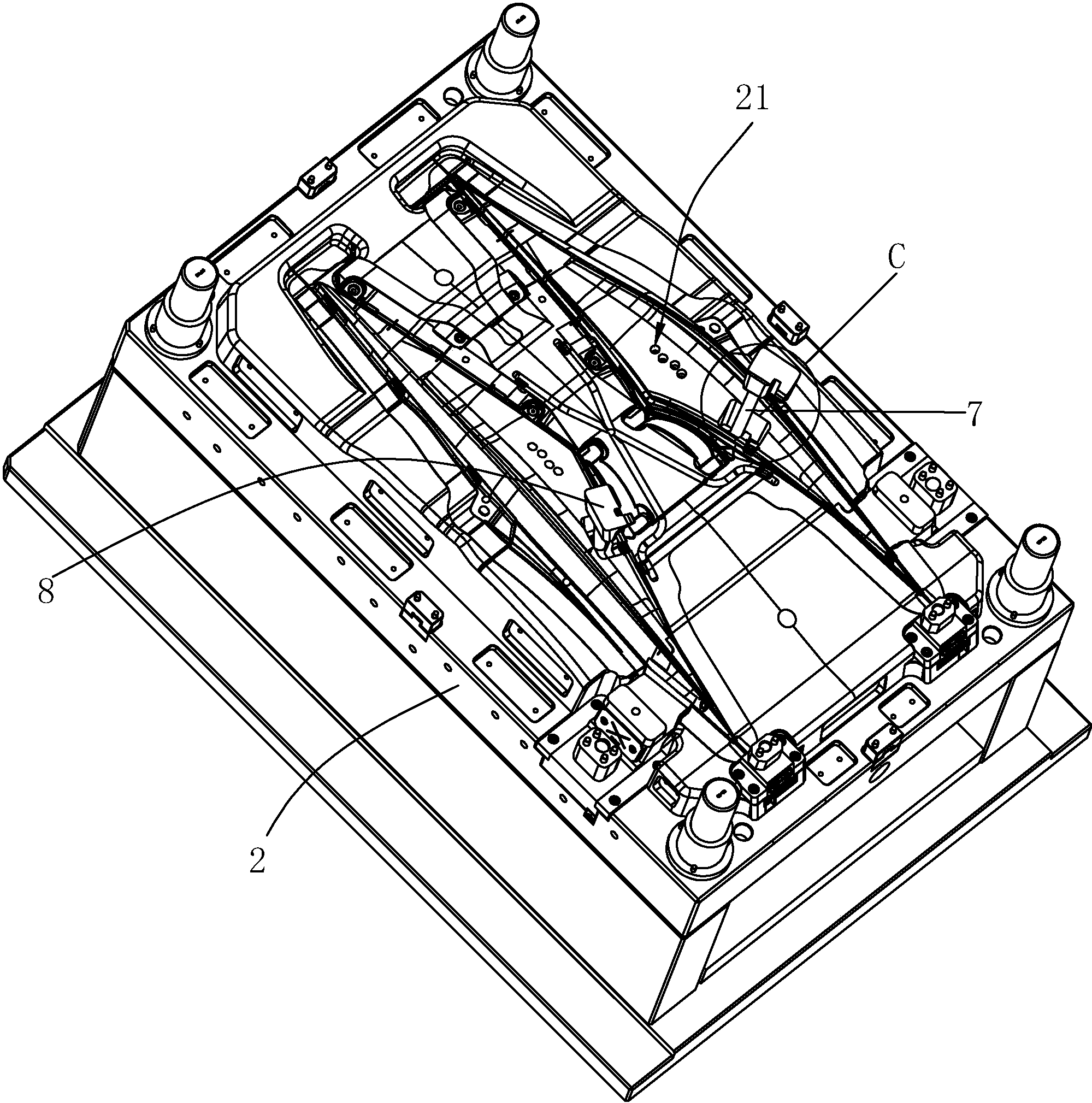
cn207711290u_一种注塑模具失效
图片尺寸1999x2019
一种用于成型双层冰棒的模具-爱企查
图片尺寸800x760
简笔画模具
图片尺寸500x505
一种糕点烘烤模具的制作方法
图片尺寸444x439
一种注塑模具制造技术
图片尺寸1000x904
优化式细水口系统模具-爱企查
图片尺寸1805x1336
一种用于制作冰块或冰棒的两用模具的制作方法
图片尺寸353x444
快拆装圆柱模具的制作方法
图片尺寸1000x941
一种陶瓷支撑体的挤出模具制造技术
图片尺寸831x1000
模具(13)-爱企查
图片尺寸1000x808
cn212944978u_一种圆片结构阀片冲压模具
图片尺寸1229x1085
藕状发泡线模具(b)-爱企查
图片尺寸1546x1558
模具简笔画
图片尺寸500x556
一种注塑模具
图片尺寸443x360
一种镜片注塑模具制造技术
图片尺寸1000x775
一种用于碳纤维材料的注塑模具-爱企查
图片尺寸800x727
冶炼,冲压等方法得到所需产品的各种模子和工具,简而言之,模具是用来
图片尺寸1000x820