模型机翼结构图

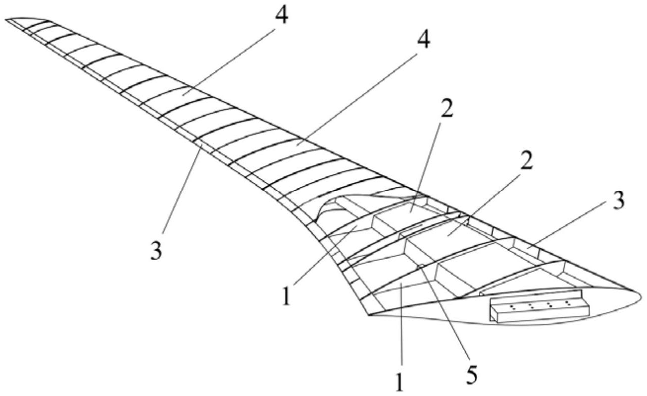
一种基于形状记忆合金驱动的可变弯度机翼结构
图片尺寸1492x701
《问天少年》,客机的机翼结构
图片尺寸500x324
的电动遥控固定翼飞机模型,其包括一飞机主体,设置在飞机主体上的机翼
图片尺寸2803x1831
刚性机翼
图片尺寸562x401
除了提供升力飞机的机翼还有哪些作用
图片尺寸1080x778
组合结构机翼
图片尺寸1025x575
客机机翼结构下载(3.63 mb,rar格式) 三维模型
图片尺寸937x436
【飞行模型】yathish四轴飞行器框架结构3d图纸 step格式
图片尺寸657x368
飞机结构二机翼
图片尺寸567x440
一种机翼可旋转的无人机
图片尺寸2139x1795
cn113044204a_一种碳纤维机翼骨架结构在审
图片尺寸1975x1511
制造单通道民机机翼 用什么复合材料
图片尺寸1077x616
一种模型飞机的可拼接式机翼结构的制作方法
图片尺寸1000x481
飞机机翼那么薄,机翼里放满燃油会不会被压断?看完这个就明白了
图片尺寸600x369
一种用于飞机模型的机翼的制作方法
图片尺寸443x237
一种机翼风洞模型-爱企查
图片尺寸1307x799
一种柔性变形机翼的制作方法
图片尺寸1000x848
一种模型飞机机翼的安装结构
图片尺寸1733x1398
b787机翼结构随着b787和a350飞机的推出,碳纤维复合材料成为机翼结构
图片尺寸1080x515
cn111994256a_一种掠角和外形可变的机翼
图片尺寸1957x997