正压接头原理

正压接头可用于输血吗?接头多久换一次?一文搞定
图片尺寸592x379
又双叒叕!留置针又回血了?冲封管这样做才正确!
图片尺寸640x468
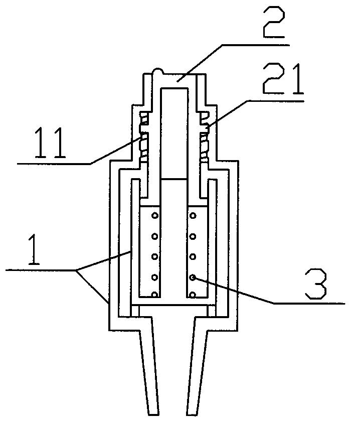
一种胶囊式y形正压接头
图片尺寸1069x1078
cn206613003u_留置针正压接头有效
图片尺寸673x1000
端子压接原理简介
图片尺寸717x479
正压无针密闭输液接头的制作方法
图片尺寸561x1000
合格连接器端子压接规范_手机搜狐网
图片尺寸570x384
压力开关控制电路压力开关的工作原理家用220v小水泵压力开关接线图.
图片尺寸420x285
正压无针输液接头
图片尺寸868x1246
分析端子压接技术的5个常见问题及解决方案
图片尺寸830x589
留置针正压接头制造技术
图片尺寸673x1000
cn104758997a_一种一体式微阻力无针防逆流输液正压接头失效
图片尺寸352x432
一种正压输液接头的制作方法
图片尺寸1000x857
正压接头
图片尺寸700x841
cn105971980a_一种用于自动化机床液压油缸的测压接头失效
图片尺寸472x327
一种无针正压阀
图片尺寸321x444
端子压接标准图示1
图片尺寸983x1576
cn201840715u_一种无针加药正压接头失效
图片尺寸1222x1968
一种精密正压接头的制作方法
图片尺寸741x1000
密闭式正压接头的制作方法
图片尺寸1000x980