正反循环清孔

正循环清孔,反循环清孔示意图
#一建建筑实务顺口溜#一建建筑
图片尺寸1220x848
现场实拍 诚信直吸正反循环清孔泵为桩孔清渣排优送优.专利技
图片尺寸1440x1920
反循环清孔泵a会泉4寸反循环清孔泵厂家.河北会泉4寸6寸反循
图片尺寸1440x2656
22千瓦砂石泵 清孔泥浆泵 反循环清孔泵#清孔 #清孔泥
图片尺寸1440x3124
22千瓦反循环清孔泵 清孔泥浆泵是一种用于施工中清除钻孔中的泥浆和
图片尺寸330x587
🌊 高效清孔神器:反循环清孔泵 🌊
图片尺寸1280x2688
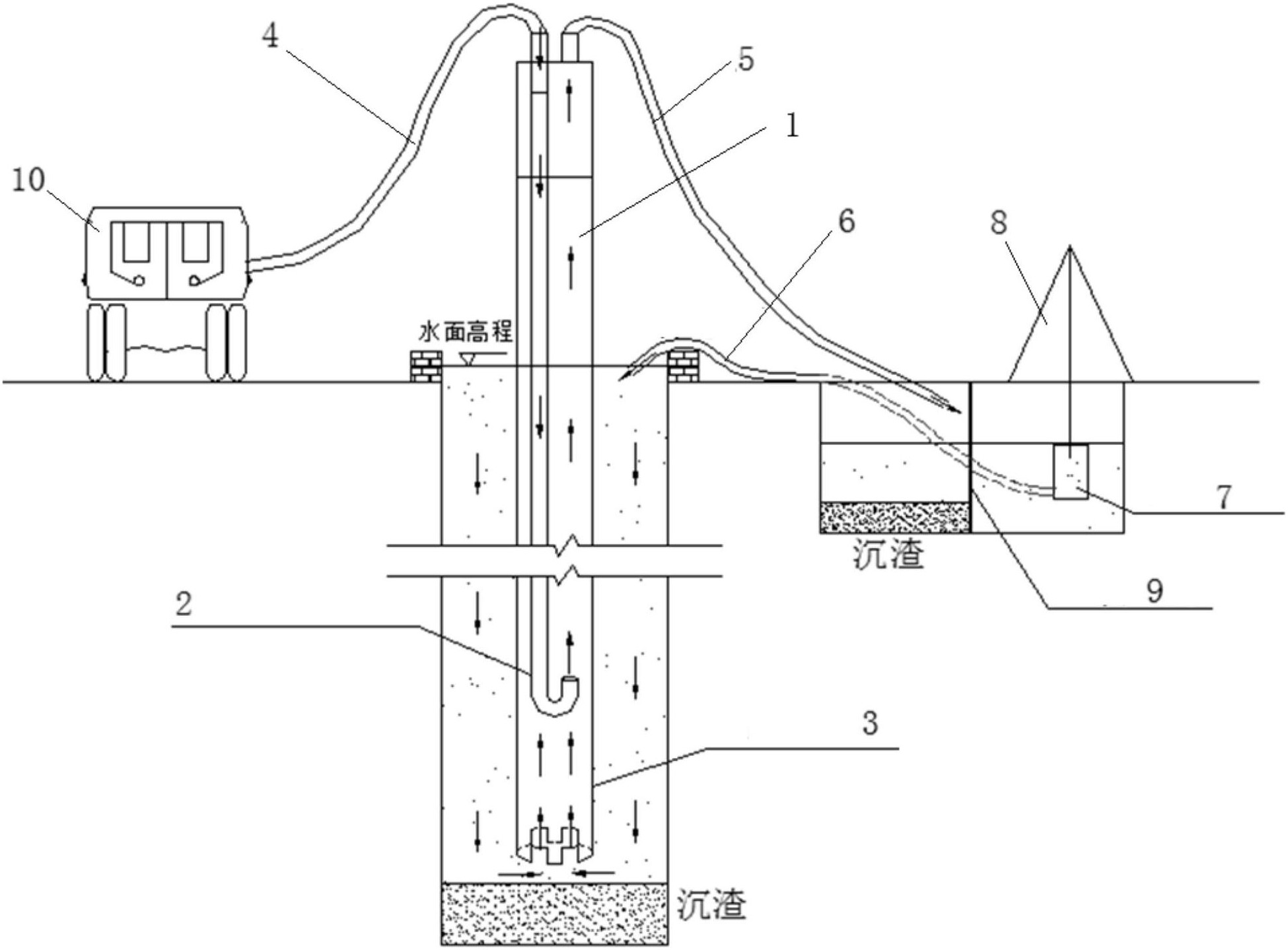
一种用于桩基二次清孔的反循环装置
图片尺寸1950x1439
反循环抽渣泵 反循环清孔泵,桩基施工的利器!30
图片尺寸330x587
空压机高压风反循环清孔技术:深入解析与应用效果
图片尺寸828x1355
灌注桩正循环与反循环成孔技术的特点及适用性对比
图片尺寸1011x883
反循环清孔泵是桩基基础施工和旋挖清孔的利器!反
图片尺寸1080x1440
正循环与反循环钻成孔的区别与原理
图片尺寸1280x930
反循环钻孔灌注桩施工工艺及应用解析
图片尺寸1197x1518
反循环清孔吸渣浆泵a沉渣吸力泵清孔专用泵.全钢多功能清渣泵
图片尺寸324x460
空压机高压风反循环清孔技术:深入解析与应用效果
图片尺寸828x1306
22kw新款反循环清孔泵发货广西桂林项
图片尺寸1440x1920
反循环清孔泵:桩基工程中的高效解决方案
图片尺寸782x1260
反循环钻机清孔a丽水反循环钻机清孔a反循环钻机清孔多少钱
图片尺寸3072x4096
反循环清孔泵a会泉4寸反循环清孔泵厂家.河北会泉反循环清孔泵
图片尺寸1080x1080
灌注桩反循环清孔工艺
图片尺寸800x1144