比例阀结构图

比例阀之先导阀
图片尺寸994x479
dlhzo及dlkzor型为高性能的比例阀, 直动式,滑套结构,带lvdt位置
图片尺寸660x344
电液比例节流阀的连接及说明图pdf
图片尺寸800x1132
电液比例阀
图片尺寸563x496
具有双o型圈结构的比例阀总成-爱企查
图片尺寸1816x1745
比例阀的结构
图片尺寸475x373
qvhmzoaqvkmzoraqvmzoa比例压力流量阀控制器
图片尺寸623x266
r9012202034wrke16e200l3x6eg24ek31a1d3mxv先导比例阀特点
图片尺寸736x540
比例换向阀(bfw 2x)
图片尺寸2108x1612
详细图解比例阀工作原理
图片尺寸1080x1649
插装直动式比例阀ncv-01-pr-d24-e
图片尺寸600x483
kromschroder空燃比例阀使用注意事项
图片尺寸611x339
平衡式阀芯结构的比例阀-爱企查
图片尺寸400x491
比例阀的阀芯结构-爱企查
图片尺寸800x578
电动比例阀的工作原理详解
图片尺寸453x413
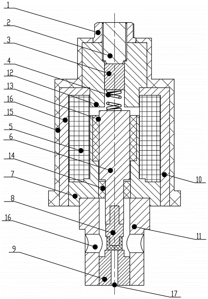
epc-pc 型比例阀的结构
图片尺寸700x378
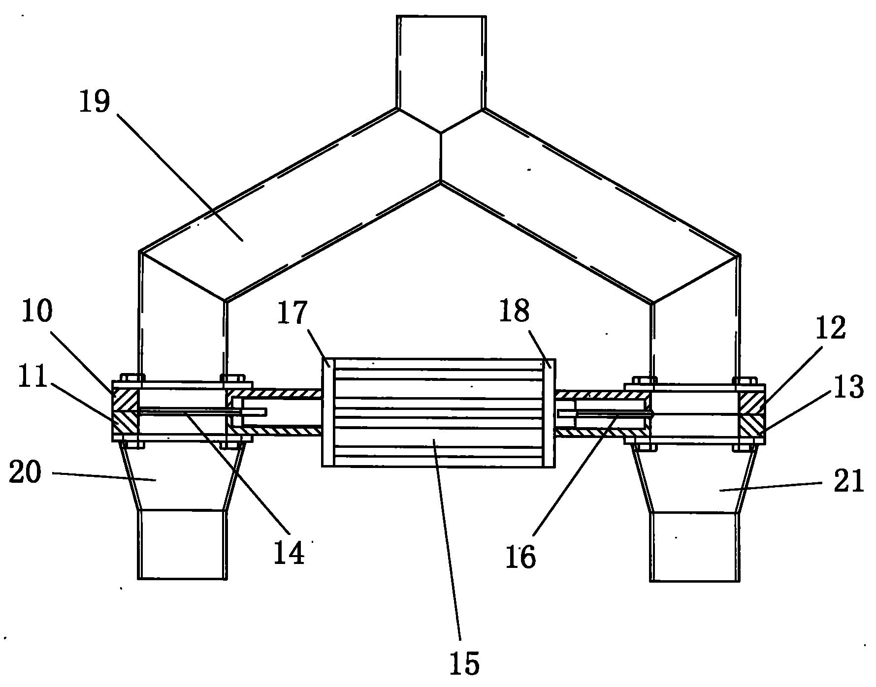
特指一种单缸管道式比例阀;其结构是,左阀门上导槽与左阀门下导槽锁合
图片尺寸1779x1396
一种用于氢燃料电池的比例阀
图片尺寸696x1000
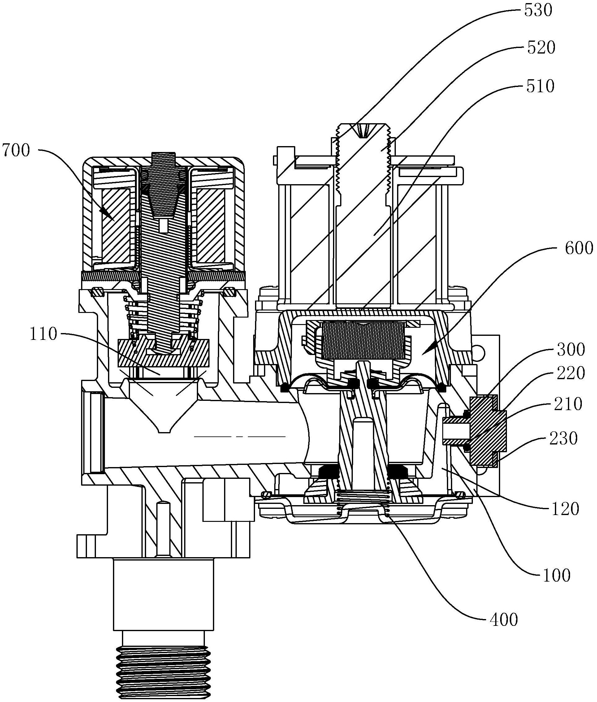
cn212536711u_一种带压力传感器的燃气比例阀,燃烧系统及燃气热水器
图片尺寸1929x2268
意大利康茂胜camozzi比例阀原装正品
图片尺寸1500x1500