毽子发射机

lld李老大发毽机远程遥控自动大白毽发毽机踢毽子毽球运动发球机
图片尺寸300x300
打沙包,编花篮,踢毽子等等都是从那个时候开始的.
图片尺寸500x290
一种毽球训练自动发射装置-爱企查
图片尺寸561x800
澳华动态 ▏澳华时光机温暖起航
图片尺寸600x400
的直升机起落广场,现在变成大人孩子们的踢球,羽毛球,飞盘,踢毽子的地
图片尺寸1080x1439
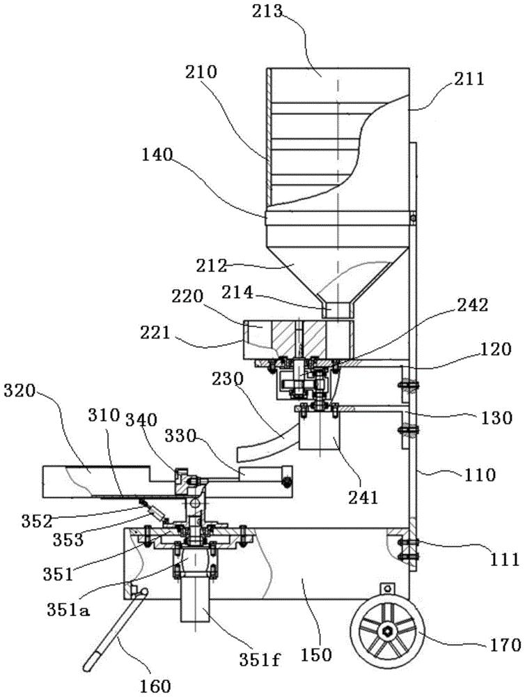
一种毽球训练自动发射装置的制作方法
图片尺寸752x1000
真的很气人的游戏机啊小三轮,当年白富美/高富帅的标配啊!
图片尺寸450x450
一种毽球自动发球机制造技术
图片尺寸1000x792
想和农夫们一起来玩跳绳子,踢毽子,投篮等趣味活动吗?
图片尺寸800x531
(图片来自网络)大部分80后的玩具依然是手工制作,比如鸡毛毽子;但是每
图片尺寸600x475
毽子你了解吗?
图片尺寸600x759
跟学徒们一起玩,那个年代也没有什么玩具,就是自己做个沙包或者毽子玩
图片尺寸1080x810
cn106512365b_一种毽球训练自动发射装置有效
图片尺寸754x1000
大神鹰毽球大公鸡毛毽子 羽毛多大花毽球成人学生公司 比赛专用-报价
图片尺寸800x800
踢毽子
图片尺寸500x375
不出意外,大家每天打开短视频,都能刷到刘畊宏的"本草纲目毽子操"
图片尺寸720x735
不出意外,大家每天打开短视频,都能刷到刘畊宏的"本草纲目毽子操"
图片尺寸4032x3024
你"会"踢毽子么? - 【葬爱皇族→荭颜】的主页
图片尺寸480x343
一种毽球发射装置的制作方法
图片尺寸436x444
纸飞机,套圈儿 跳房子,踢毽子 一个个简单的小游戏 却承载着童年的
图片尺寸600x400