气力式排种器

美国 precision planting气吸式排种器工作原理动画
图片尺寸960x540
气吸式高速精密排种器
图片尺寸472x460
基于气力导种原理的gaspardo chrono 306排种器
图片尺寸1152x720
产品名称:8档24勺右手排种器
图片尺寸570x430
气吸式排种器是气力式精密排种器,具有通用性好,可靠性高,播种速度快
图片尺寸3680x2760
气力滚筒式水稻直播精量排种器排种性能分析与田间试验
图片尺寸945x668
分布管式气力定量排种器
图片尺寸443x378
播种器配件指夹式排种器
图片尺寸530x397
六档指夹式双连接排种器
图片尺寸570x430
气力式精密排种器
图片尺寸415x283
1.3 国内外马铃薯精量排种器的研究现状
图片尺寸590x467
双侧气吸式排种器
图片尺寸779x539
一种气力组合盘式单粒精量排种器
图片尺寸1999x1630
正压气送式高速精量排种器
图片尺寸1982x1535
六档指夹式单连接排种器
图片尺寸570x430
气力式精密排种器
图片尺寸353x265
小籽粒专用排种器(1)液压控制开沟器,适应水田,旱田作业环境大华宝来2
图片尺寸700x461
一种气力式小麦精量排种器
图片尺寸1000x966
气力组合孔式玉米精量排种器-爱企查
图片尺寸1665x1801
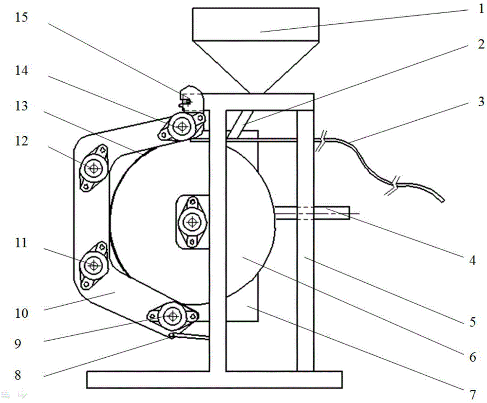
cn106922263b_一种气力带式排种器
图片尺寸1000x828