气化装置图

图9-20 so气化罐装置示意图
图片尺寸1129x725
惠生工程总承包的煤气化装置获化学工业优质工程奖
图片尺寸1440x1080
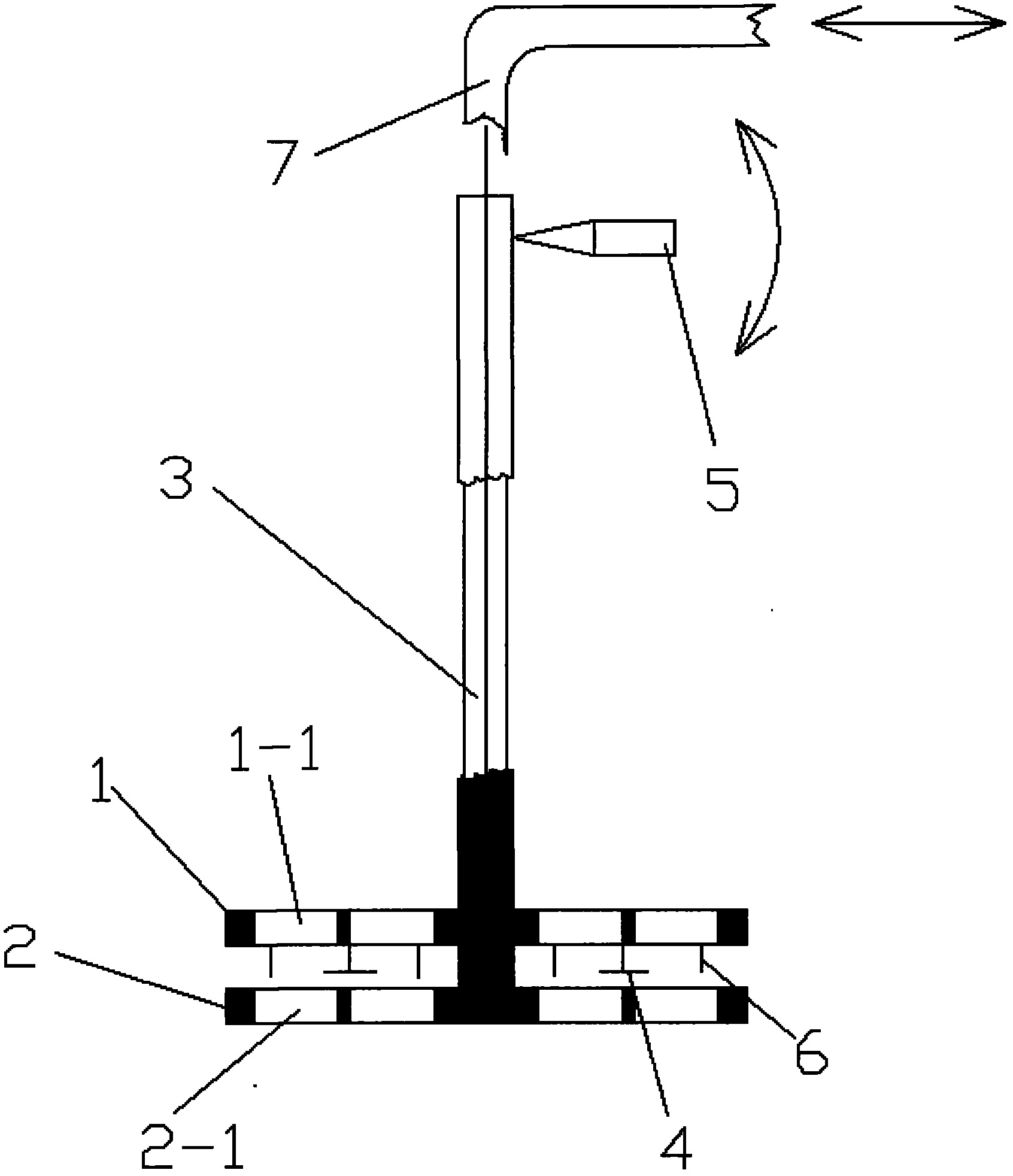
一种蒸汽加热式气化装置
图片尺寸1204x1742
cn212119051u_一种甲醇气化装置有效
图片尺寸438x487
等离子气化装置
图片尺寸1677x1854
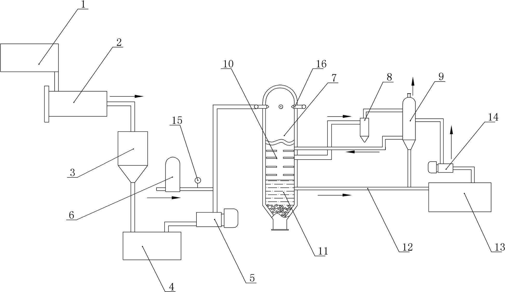
双上升管循环流化床煤气化装置
图片尺寸2632x1708
中安联合煤气化装置满负荷运行
图片尺寸760x1140
cn102174339a_一种二甲醚气化装置失效
图片尺寸1777x1286
示意图 缺氧液体气化图文教学缺氧液体气化装置图解直接上原理图注释
图片尺寸800x340
气化装置的照片
图片尺寸512x320
公司与上海交通大学清洁能源研究中心合作开发新型生物质气化装置
图片尺寸500x273
新型加压气化装置-爱企查
图片尺寸1946x1127
生物质气化炉喷入蒸汽装置
图片尺寸1692x1964
气化装置
图片尺寸1000x986
生物质气化制氢工艺装置图
图片尺寸572x339
液氨空温式气化装置
图片尺寸2205x1081
近常压粉煤气化装置
图片尺寸900x1052
一种移动式lpg瓶组气化装置制造方法及图纸
图片尺寸1000x873
一种轻烃燃料的鼓泡汽化装置制造方法及图纸
图片尺寸811x1000
产品名称:eternal vision气化燃烧系统西南地区
图片尺寸955x761