气提水泵图解

气提式污水泵布气装置
图片尺寸552x333
气提式污水泵布气装置
图片尺寸521x522
自制airliftpump气提水泵
图片尺寸418x317
采用气压差的作用,使活塞上下运行,带动导料活塞开闭,起到提料的作用
图片尺寸893x448
蒸气流量三冲量调节
图片尺寸700x293
一种污水处理用气提泵的制作方法
图片尺寸1000x863
2t-2气动浆料泵 活塞泵 抽浆泵 提胶泵 树脂泵 油漆泵
图片尺寸750x1244
一种旋流曝气气提污泥回流泵的制作方法
图片尺寸1000x843
zpbd型气,水两用喷射泵总成 (低压) - 济南泰达泵业有限公司
图片尺寸700x886
气提式污水泵布气装置.doc 9页
图片尺寸792x1120
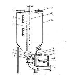
立式气力提升泵的构造
图片尺寸230x268
美国sprague products气体增压泵 特力得气驱泵 气动气体增压泵
图片尺寸1920x1074
气体增压泵技术选型
图片尺寸1080x1995
sbv型水环式真空抽气泵/质保两年/台湾技术/固顺买泵享受三包服务
图片尺寸753x408
气液增压泵
图片尺寸500x290
气液混合泵工作原理及结构图
图片尺寸799x629
介质可选择,如有其他特殊介质,请提前跟销售人员说明深圳市思特克气动
图片尺寸725x569
qby不锈钢气动隔膜泵
图片尺寸606x368
格兰富水泵upa90家用增压泵全自动静音自来水upa120热水器加压泵
图片尺寸790x923
水泵自吸装置介绍
图片尺寸349x367