水冷壁结构

5 过渡段水冷壁结构示意图图7.
图片尺寸1299x884
炉膛水冷壁
图片尺寸687x869
热水锅炉的新型水冷壁
图片尺寸1821x2235
热电厂直流锅炉螺旋水冷壁
图片尺寸640x630
锅炉水冷壁结构的制作方法
图片尺寸869x1000
过渡段水冷壁的结构如下图所示.
图片尺寸640x426
水冷壁防磨格栅经纬结构智链防磨技术研讨循环流化床锅炉组成
图片尺寸640x527
水冷壁的结构要素有管子外径d,管壁厚度δ,管中心节距s及管中心与炉墙
图片尺寸640x389
螺旋水冷壁刚性梁结构图垂直搭接板滑道耳板与螺旋膜式壁焊接,双耳板
图片尺寸640x699
角管膜式水冷壁结构蛇形管对流管束下部回水式热水锅炉-爱企查
图片尺寸495x547
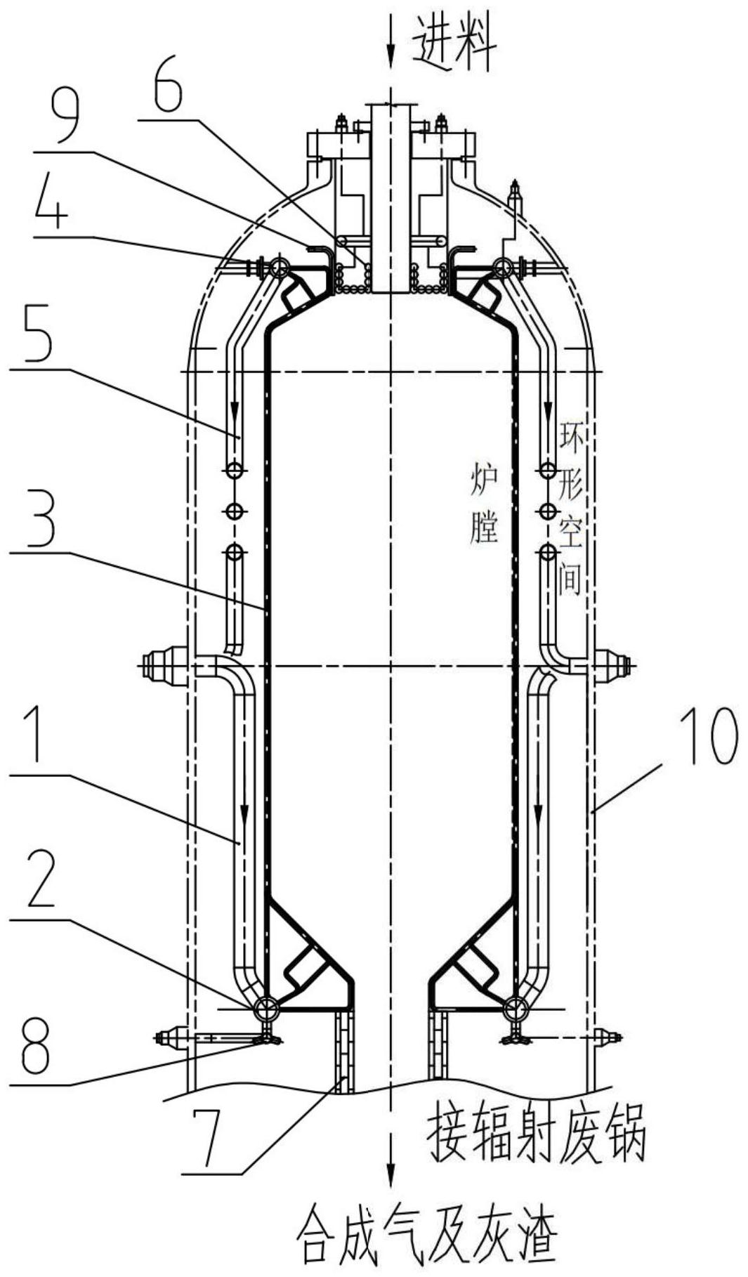
一种气化炉水冷壁内件结构-爱企查
图片尺寸1065x1818
水平刚性梁结构图拉杆穿过焊在水冷壁上的耳板,从而固定不与水冷壁
图片尺寸640x414
螺旋管圈水冷壁结构如图所示.
图片尺寸495x316
锅炉水冷壁的结构示意图(53张高清3d图告诉你cfb锅炉的结构原理)(1)
图片尺寸640x613
采用较高质量流速设计,且进口不需装设节流圈,螺旋管圈 水冷壁的传热
图片尺寸1080x810
直流锅炉螺旋水冷壁
图片尺寸640x657
一种基于堆焊技术的t23水冷壁现场修复方法
图片尺寸2167x857
一种锅炉水冷壁高温腐蚀的防治方法和装置
图片尺寸443x277
循环流化床锅炉水冷壁与水冷屏频繁爆管的分析及修复
图片尺寸640x436
阻断式循环流化床锅炉水冷壁
图片尺寸676x954