水焊机原理

zx7-200直流逆变焊机控制脉冲驱动电路分析
图片尺寸1859x1001
电焊机原理图
图片尺寸1264x1021
电焊机电路的基本组成
图片尺寸705x477
建筑工程电焊机事故案例分析及安全操作规范
图片尺寸760x427
给广大客户朋友提供了解决方案,推出新一代全数字化产品d7-500a焊机
图片尺寸800x456
超声波焊接机的工作原理
图片尺寸640x649
接两根火线的电焊机原现图是怎样
图片尺寸648x611
电焊机工作原理家用电焊机的原理自己制作简易电焊机
图片尺寸608x314
电焊机作业安全管理(50页)_手机搜狐网
图片尺寸1920x1440
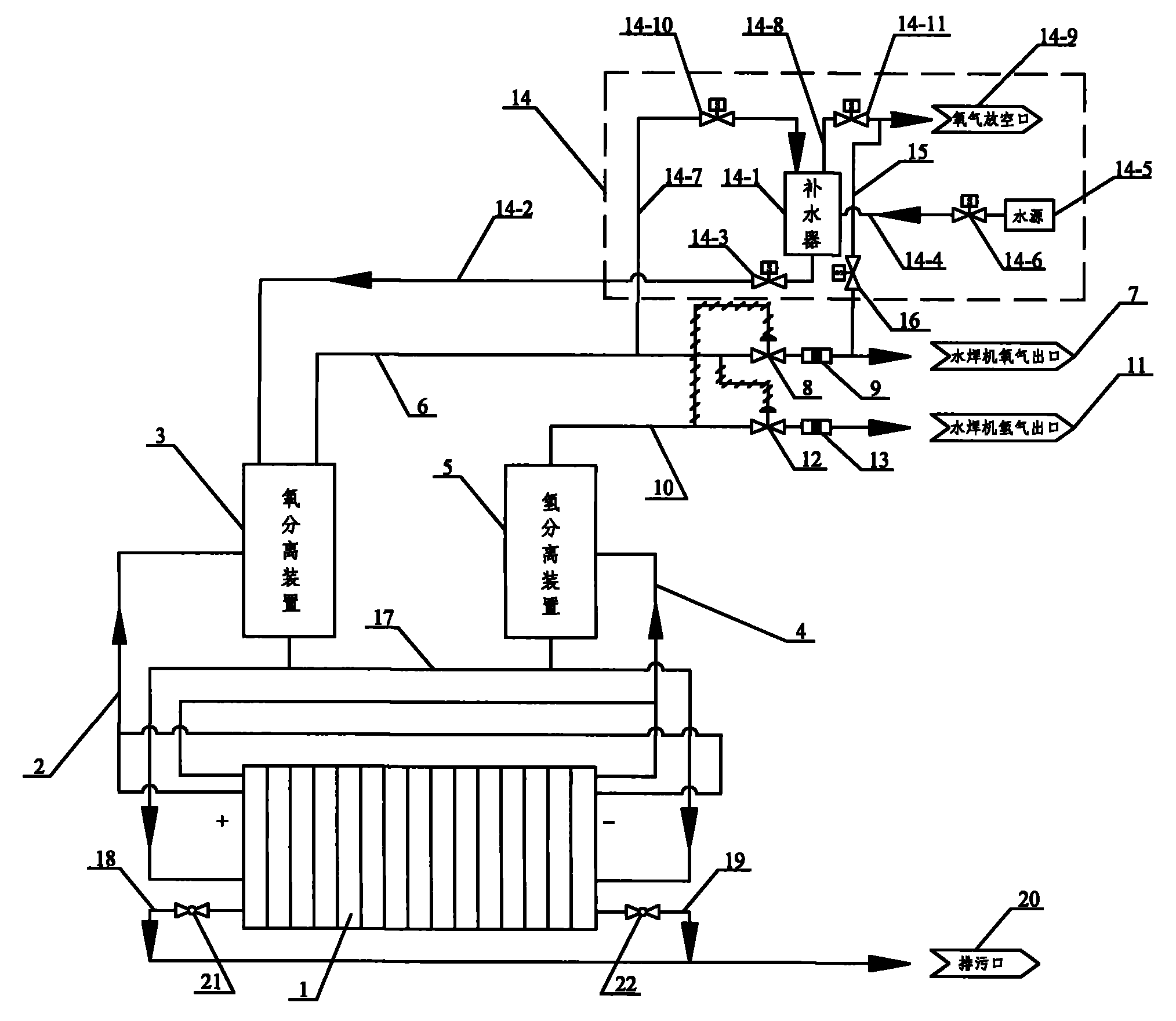
一种水焊机
图片尺寸2028x1761
zx7200逆变直流焊机输出端短路保护电路原理
图片尺寸1827x1001
一,沃克能源氢氧水焊机/水燃料氢氧焊机使用原理结构图沃克能源系列
图片尺寸913x514
200电气原理框图焊机接线图(220v焊机)焊机接线图
图片尺寸516x1720![wsm160/200/315/400/500系列逆变直流脉冲氩弧焊机使用:[3]](https://i.ecywang.com/upload/1/img0.baidu.com/it/u=1811604888,1232397131&fm=253&fmt=auto&app=120&f=JPEG?w=800&h=1132)
wsm160/200/315/400/500系列逆变直流脉冲氩弧焊机使用:[3]
图片尺寸2381x3368
如何正确打开一台你不熟悉的电焊机
图片尺寸534x661
二保焊简介
图片尺寸762x323
交流电焊机电原理图(220v/380v焊机)
图片尺寸2015x1147
逆变换电焊机原理图
图片尺寸2193x1573
水焊机原理水焊机原理简单的说,就是水通过反应分解产生氢氧气体的
图片尺寸700x350
逆变电焊机原理图的讲解
图片尺寸1119x739