水翼艇结构图

水翼船的工作原理是怎样的它的建造材料是它的出现有何好处
图片尺寸538x296
水翼船cad图纸
图片尺寸427x600
深v形高速船在波浪中的优良航行性能,与双体船的结构形式及水翼船的
图片尺寸267x642
js1700休闲娱乐快艇
图片尺寸612x556
荐读|人民海军第一支潜艇部队诞生记:一瓶酒换来的"密电码"
图片尺寸751x564
jetfoil 水翼船 part 1.
图片尺寸2000x1451
cn1158314a_水翼船失效
图片尺寸2000x1400
由于现有潜艇的形状均为圆柱状结构,所以若增加潜艇的负载能力,在加大
图片尺寸650x447
cn205819478u_一种可收放双体水翼船有效
图片尺寸1000x576
布拉多尔号是加拿大海军在1960年订购的一种水翼艇,在1968年7月23日
图片尺寸640x800
xxvi型潜艇的结构图,艇身中部,面向斜后方的鱼雷发射管,就是所谓的"施
图片尺寸700x522
双体游艇的水翼结构
图片尺寸1845x1773
110客位长江水翼客艇
图片尺寸600x234
机敏的基本解释
图片尺寸854x640
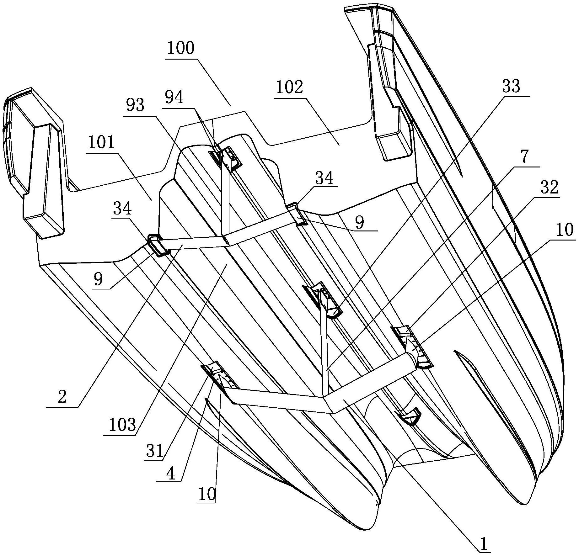
双体游艇的水翼结构的制作方法
图片尺寸1000x961
cn112238921a_超空泡水翼船在审
图片尺寸1863x529
结构图-辽宁锦龙超级游艇制造有限公司
图片尺寸989x1599
uf31wa公务艇
图片尺寸612x556
根据水翼艇获得稳定性的原理不同,水翼可分为自稳式和自控式两类.
图片尺寸144x220
美国常规动力潜艇的绝唱 现代潜艇的探路者——"长颌须鱼"级
图片尺寸618x386